标题:
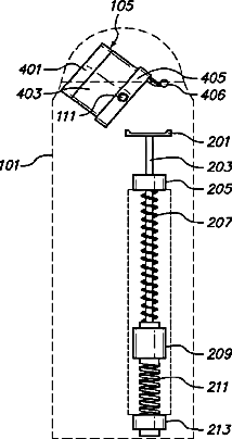
Miniature forward-looking ultrasound imaging mechanism enabled by local shape memory alloy actuator
授权日:
2013-06-04
公开(公告)号:
US8454519
申请日:
2009-05-15
公开(公告)日:
2013-06-04
当前申请(专利权)人:
VOLCANO CORPORATION
发明人:
PARK, BYONG-HO | LEVY, OREN
简单同族:
EP2296553A2 | EP2296553A4 | EP2296553B1 | JP2011520528A | US20110263986A1 | US20130269174A1 | US8454519 | US9173637 | WO2009140641A2 | WO2009140641A3
简单同族成员数量:
10
简单同族被引用专利总数:
62
诉讼案件数:
0
法律状态/事件:
授权 | 权利转移