标题:
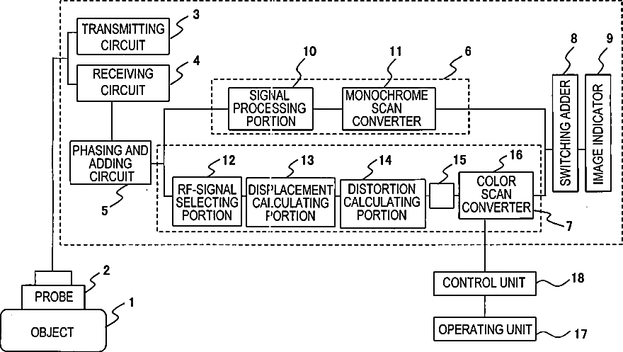
Ultrasonic imaging apparatus
授权日:
1900-01-01
公开(公告)号:
US20070112270A1
申请日:
2004-11-11
公开(公告)日:
2007-05-17
当前申请(专利权)人:
HITACHI MEDICAL CORPORATION
发明人:
WAKI, KOUJI | OSAKA, TAKASHI | ITO, MITSUAKI | MATSUMURA, TAKESHI | MURAYAMA, NAOYUKI | KASHIWAGI, TAKASHI
简单同族:
JP4657106B2 | JPWO2005048847A1 | JPWO2005048847A5 | US20070112270A1 | US20100324421A1 | US8608659 | WO2005048847A1
简单同族成员数量:
7
简单同族被引用专利总数:
72
诉讼案件数:
0
法律状态/事件:
未缴年费 | 权利转移