首页
专利数据库
产业人才
行业动态
产业政策法规
维权援助
个人中心
登录/注册
详情
文本
图像
标题:
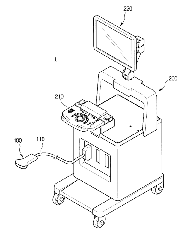
Ultrasonic probe and ultrasonic imaging apparatus
授权日:
1900-01-01
公开(公告)号:
US20180055484A1
申请日:
2017-02-24
公开(公告)日:
2018-03-01
当前申请(专利权)人:
SAMSUNG MEDISON CO., LTD.
发明人:
KIM, JAE-YK | JUN, DONG SOO | KIM, DONG HYUN | SONG, IN SEONG
简单同族:
KR1020180023604A | US20180055484A1
简单同族成员数量:
2
简单同族被引用专利总数:
0
诉讼案件数:
0
法律状态/事件:
撤回 | 权利转移