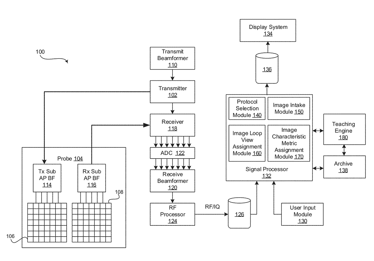
标题:
Method and system for automatically selecting ultrasound image loops from a continuously captured stress echocardiogram based on assigned image view types and image characteristic metrics
授权日:
1900-01-01
公开(公告)号:
US20190076127A1
申请日:
2017-09-12
公开(公告)日:
2019-03-14
当前申请(专利权)人:
GENERAL ELECTRIC COMPANY
发明人:
AASE, SVEIN ARNE | VIGGEN, KJETIL | ZIEGLER, ANDREAS
简单同族:
US20190076127A1
简单同族成员数量:
1
简单同族被引用专利总数:
0
诉讼案件数:
0
法律状态/事件:
实质审查 | 权利转移