标题:
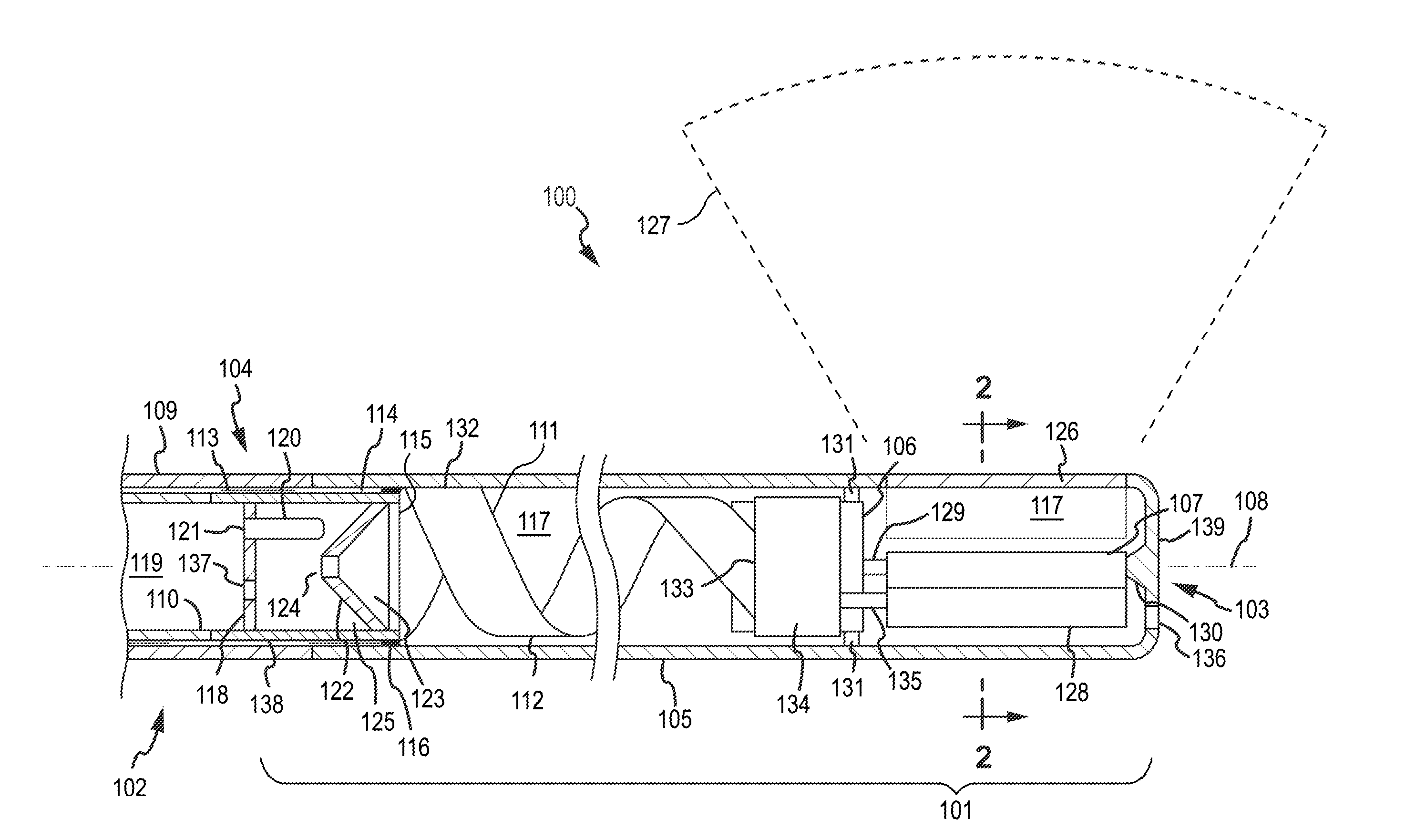
Real time ultrasound catheter probe
授权日:
2013-09-17
公开(公告)号:
US8535232
申请日:
2009-06-01
公开(公告)日:
2013-09-17
当前申请(专利权)人:
W. L. GORE & ASSOCIATES, INC.
发明人:
DIETZ, DENNIS R. | HAFTMANN, JOHANNES | OAKLEY, CLYDE G. | PATTERSON, RYAN C.
简单同族:
AU2009251259A1 | AU2009251259B2 | CA2725357A1 | CA2725357C | CA2835549A1 | CA2835549C | CA2835552A1 | CN102076265A | CN102076265B | EP2280652A2 | EP2280652A4 | JP2011521745A | JP2014128728A | JP2015037758A | JP5659153B2 | US20100036258A1 | US20110237955A1 | US8500648 | US8535232 | WO2009146458A2 | WO2009146458A3
简单同族成员数量:
21
简单同族被引用专利总数:
50
诉讼案件数:
0
法律状态/事件:
授权 | 权利转移