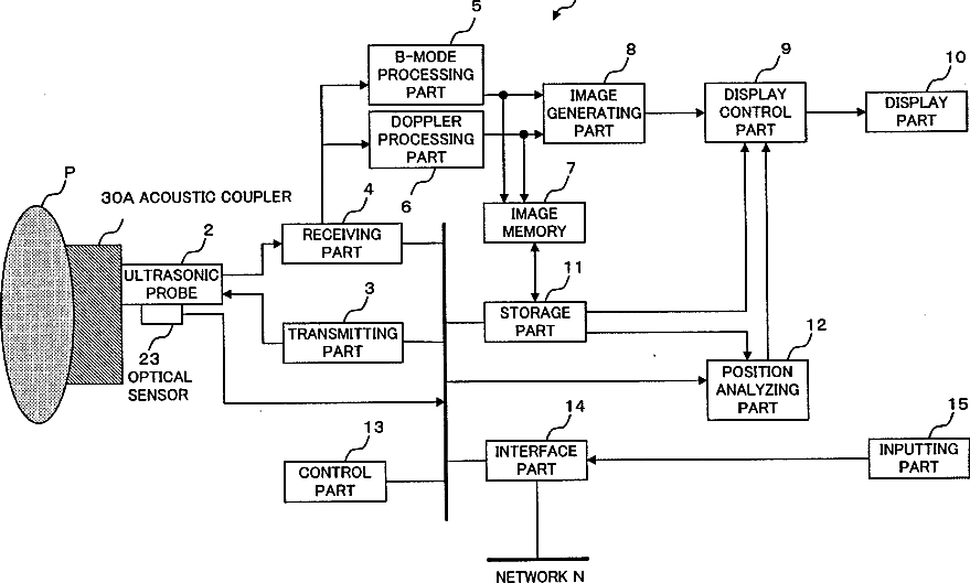
标题:
Ultrasonic imaging apparatus and ultrasonic low attenuation medium
授权日:
1900-01-01
公开(公告)号:
US20070239006A1
申请日:
2007-02-28
公开(公告)日:
2007-10-11
当前申请(专利权)人:
TOSHIBA MEDICAL SYSTEMS CORPORATION
发明人:
KAMIYAMA, NAOHISA | OKAMURA, YOKO
简单同族:
CN100469319C | CN101032411A | JP2007236823A | JP4772540B2 | US20070239006A1 | US8105240
简单同族成员数量:
6
简单同族被引用专利总数:
56
诉讼案件数:
0
法律状态/事件:
未缴年费 | 权利转移