标题:
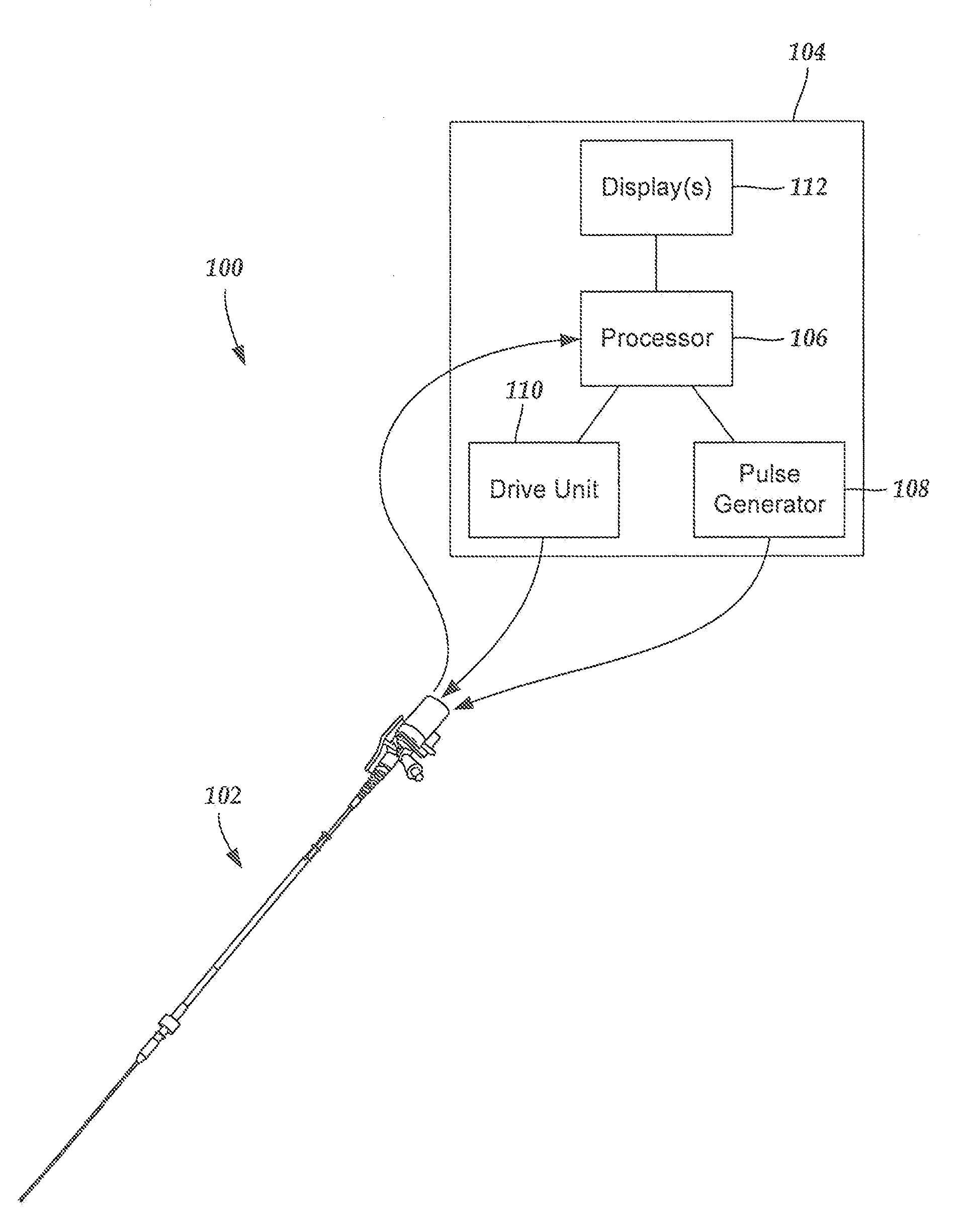
Systems and methods for multi-frequency imaging of patient tissue using intravascular ultrasound imaging systems
授权日:
1900-01-01
公开(公告)号:
US20110160586A1
申请日:
2010-12-28
公开(公告)日:
2011-06-30
当前申请(专利权)人:
BOSTON SCIENTIFIC SCIMED, INC.
发明人:
LI, WENGUANG | TEO, TAT-JIN | SATHYANARAYANA, SHASHIDHAR
简单同族:
CA2785655A1 | EP2519158A1 | JP2013515593A | JP5754022B2 | US20110160586A1 | WO2011082171A1
简单同族成员数量:
6
简单同族被引用专利总数:
58
诉讼案件数:
0
法律状态/事件:
撤回