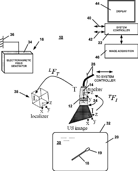
标题:
System and method for automatic calibration of tracked ultrasound
授权日:
1900-01-01
公开(公告)号:
US20100249595A1
申请日:
2008-11-05
公开(公告)日:
2010-09-30
当前申请(专利权)人:
KONINKLIJKE PHILIPS ELECTRONICS N V
发明人:
XU, SHENG | KRUECKER, JOCHEN
简单同族:
CN101861526A | EP2223150A1 | JP2011511652A | RU2010123952A | RU2478980C2 | US20100249595A1 | WO2009063360A1
简单同族成员数量:
7
简单同族被引用专利总数:
50
诉讼案件数:
0
法律状态/事件:
撤回 | 权利转移