标题:
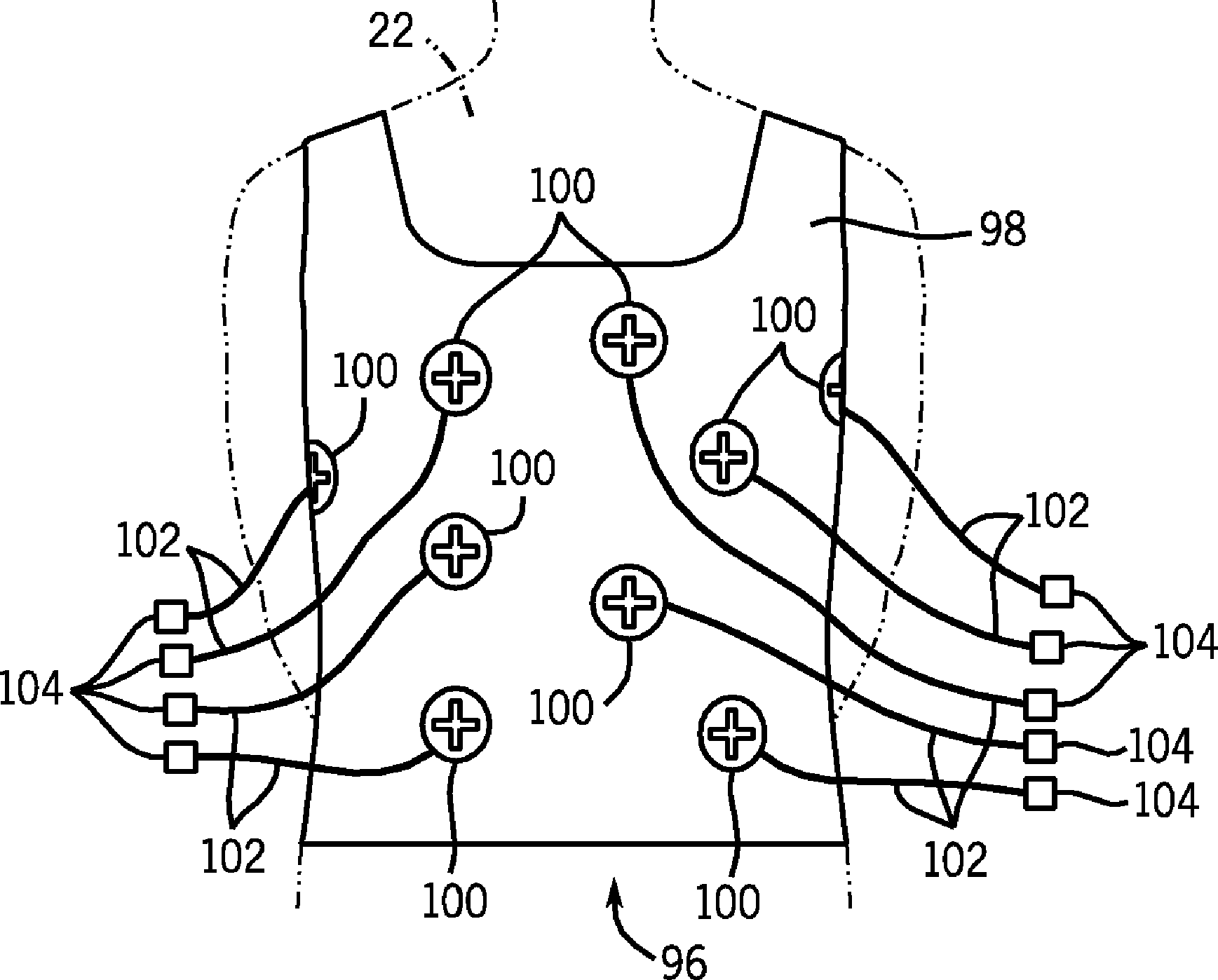
Wearable ultrasound probe assembly and method of manufacturing same
授权日:
1900-01-01
公开(公告)号:
US20110218423A1
申请日:
2011-05-19
公开(公告)日:
2011-09-08
当前申请(专利权)人:
GENERAL ELECTRIC COMPANY
发明人:
HSIEH, JIANG | BARBER, MICHAEL JOHN | KOST, BRIAN J. | CLARKE, WILLIAM R. | JUHL, MICHAEL A. | HALL, ANNE LINDSAY
简单同族:
CN101023878A | CN101023878B | DE102007007386A1 | JP2007216026A | JP5192159B2 | US20110216957A1 | US20110218423A1 | US20110218438A1 | US8155729 | US9022933
简单同族成员数量:
10
简单同族被引用专利总数:
49
诉讼案件数:
0
法律状态/事件:
撤回 | 权利转移