首页
专利数据库
产业人才
行业动态
产业政策法规
维权援助
个人中心
登录/注册
详情
文本
图像
标题:
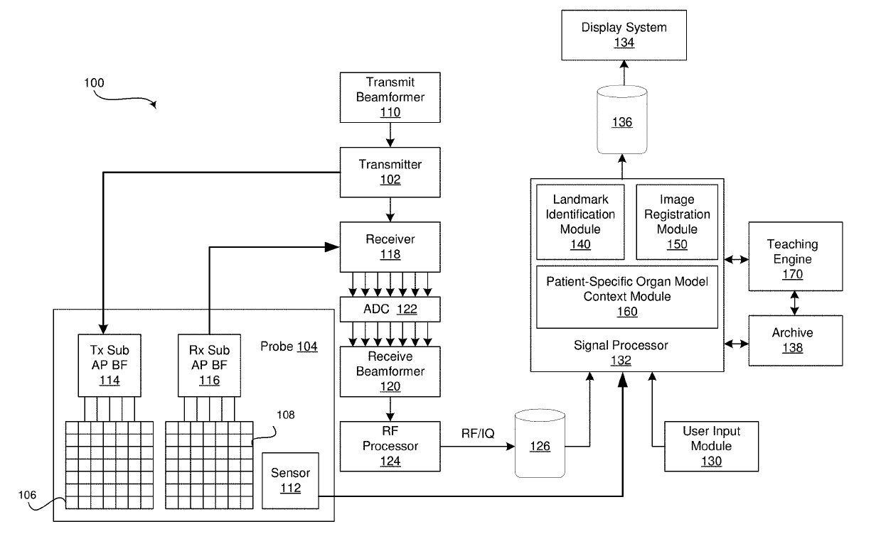
Method and system for creating and utilizing a patient-specific organ model from ultrasound image data
授权日:
1900-01-01
公开(公告)号:
US20190200964A1
申请日:
2018-01-03
公开(公告)日:
2019-07-04
当前申请(专利权)人:
GENERAL ELECTRIC COMPANY
发明人:
SUDHAKAR, PRASAD | LANNING, JUSTIN DANIEL | ANNANGI, PAVAN KUMAR | WASHBURN, MICHAEL
简单同族:
US20190200964A1
简单同族成员数量:
1
简单同族被引用专利总数:
0
诉讼案件数:
0
法律状态/事件:
公开 | 权利转移