标题:
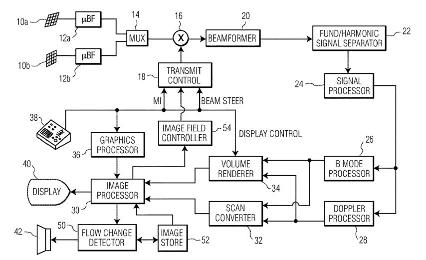
Ultrasound system for cerebral blood flow imaging and microbubble-enhanced blood clot lysis
授权日:
1900-01-01
公开(公告)号:
US20170196465A1
申请日:
2017-03-24
公开(公告)日:
2017-07-13
当前申请(专利权)人:
KONINKLIJKE PHILIPS N.V.
发明人:
BROWNING, THEODORE J. | SHI, WILLIAM | POWERS, JEFFRY E. | AVERKIOU, MICHALAKIS | GAUTHIER, THOMAS
简单同族:
CN101500650A | CN101500650B | EP2051777A2 | EP2051777B1 | JP2010500084A | JP2014000431A | JP5450065B2 | JP5684870B2 | US10363012 | US20100160779A1 | US20170196465A1 | US9630028 | WO2008017997A2 | WO2008017997A3
简单同族成员数量:
14
简单同族被引用专利总数:
64
诉讼案件数:
0
法律状态/事件:
授权