首页
专利数据库
产业人才
行业动态
产业政策法规
维权援助
个人中心
登录/注册
详情
文本
图像
标题:
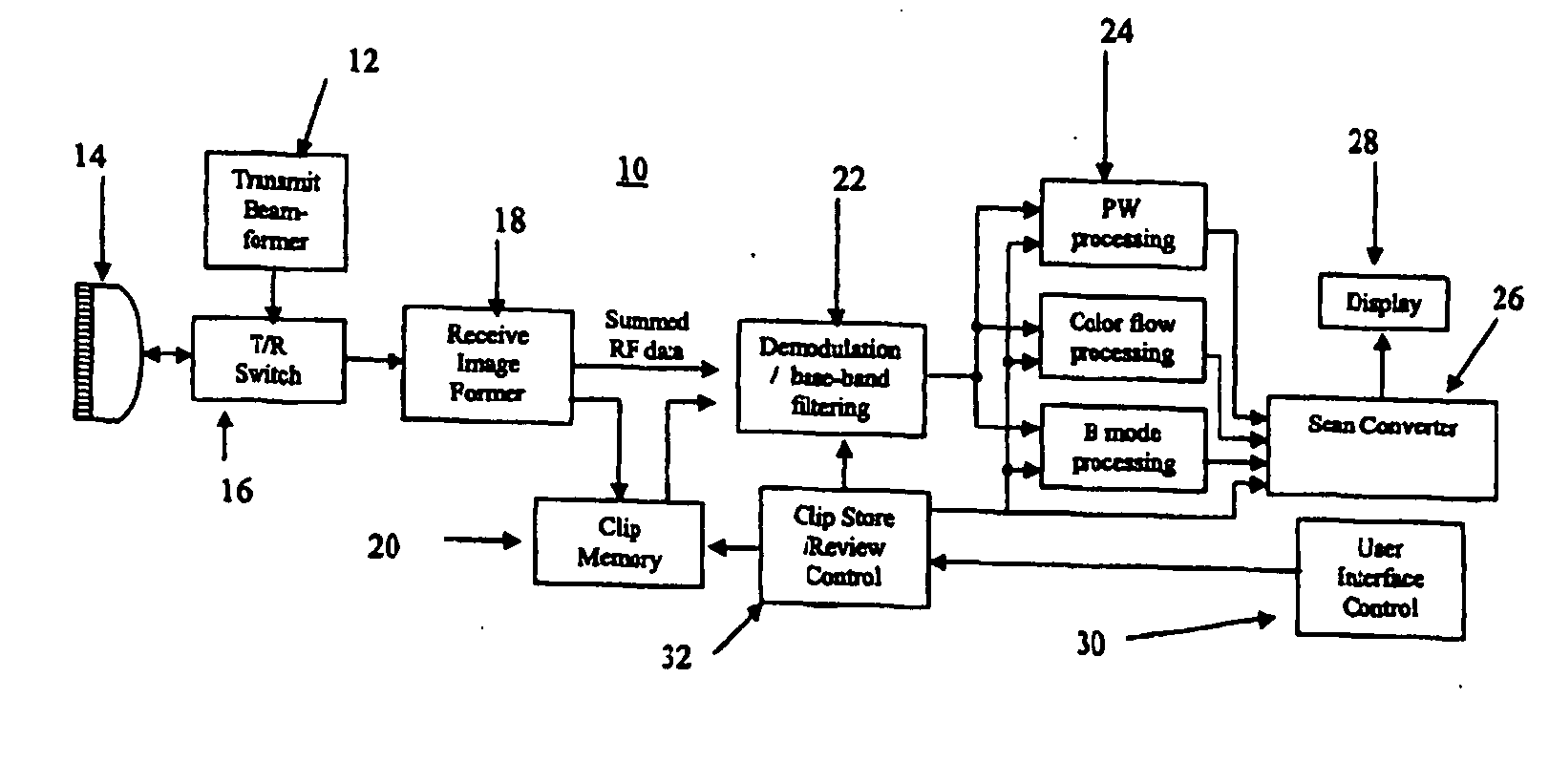
Raw data reprocessing in ultrasound diagnostic imaging
授权日:
1900-01-01
公开(公告)号:
US20070161898A1
申请日:
2006-01-10
公开(公告)日:
2007-07-12
当前申请(专利权)人:
SIEMENS MEDICAL SOLUTIONS USA, INC.
发明人:
HAO, XIAOHUI | MILKOWSKI, ANDRZEJ | CHIAO, RICHARD YUNG
简单同族:
US20070161898A1 | WO2007081435A1
简单同族成员数量:
2
简单同族被引用专利总数:
74
诉讼案件数:
0
法律状态/事件:
撤回 | 权利转移