标题:
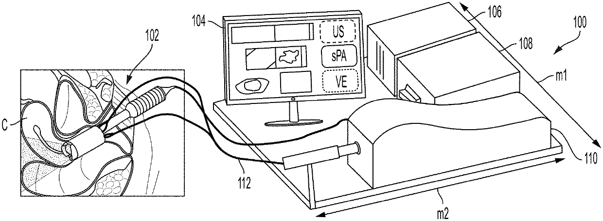
Ultrasound, photoacoustic, and viscoelastic imaging systems and methods for cervical analysis to assess risk of preterm delivery
授权日:
1900-01-01
公开(公告)号:
US20200121242A1
申请日:
2019-10-22
公开(公告)日:
2020-04-23
当前申请(专利权)人:
WAYNE STATE UNIVERSITY
发明人:
MEHRMOHAMMADI, MOHAMMAD | HASSAN, SONIA S. | HERNANDEZ-ANDRADE, EDGAR | YAN, YAN | BASIJ, MARYAM | GOMEZ-LOPEZ, NARDHY
简单同族:
US20200121242A1
简单同族成员数量:
1
简单同族被引用专利总数:
0
诉讼案件数:
0
法律状态/事件:
公开 | 权利转移