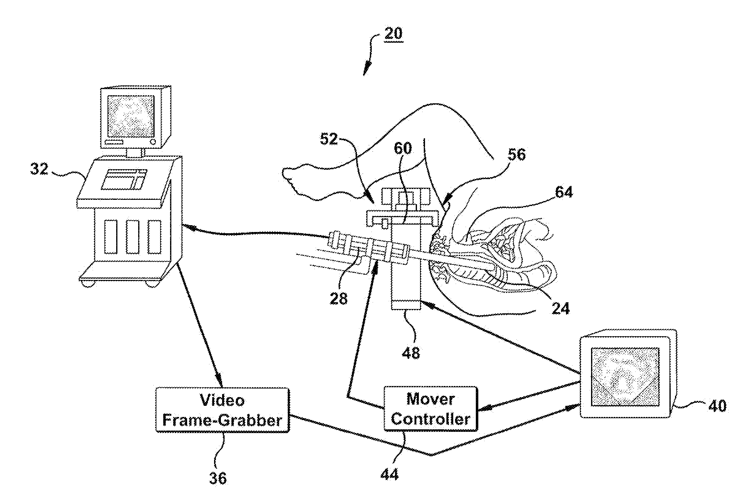
标题:
Ultrasound imaging system and methods of imaging using the same
授权日:
1900-01-01
公开(公告)号:
US20100324419A1
申请日:
2010-02-16
公开(公告)日:
2010-12-23
当前申请(专利权)人:
ROBARTS RESEARCH INSTITUTE
发明人:
GARDI, LORI ANNE | DOWNEY, DONAL B. | FENSTER, AARON
简单同族:
CA2553885A1 | CA2553885C | EP1713395A1 | EP1713395A4 | EP1713395B1 | US20070270687A1 | US20100324419A1 | US20120004539A1 | US9070190 | WO2005067800A1
简单同族成员数量:
10
简单同族被引用专利总数:
72
诉讼案件数:
0
法律状态/事件:
撤回