首页
专利数据库
产业人才
行业动态
产业政策法规
维权援助
个人中心
登录/注册
详情
文本
图像
标题:
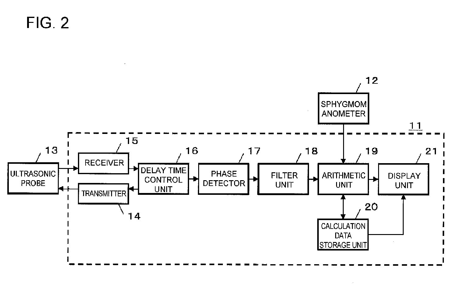
Ultrasonograph and ultrasonography
授权日:
1900-01-01
公开(公告)号:
EP1693005A1
申请日:
2004-12-09
公开(公告)日:
2006-08-23
当前申请(专利权)人:
KANAI, HIROSHI | KONICA MINOLTA, INC.
发明人:
KANAI, HIROSHI | HASEGAWA, HIDEYUKI
简单同族:
CN100512764C | CN1925792A | EP1693005A1 | EP1693005A4 | JPWO2005055831A1 | US20070219447A1 | WO2005055831A1
简单同族成员数量:
7
简单同族被引用专利总数:
45
诉讼案件数:
0
法律状态/事件:
撤回 | 权利转移