首页
专利数据库
产业人才
行业动态
产业政策法规
维权援助
个人中心
登录/注册
详情
文本
图像
标题:
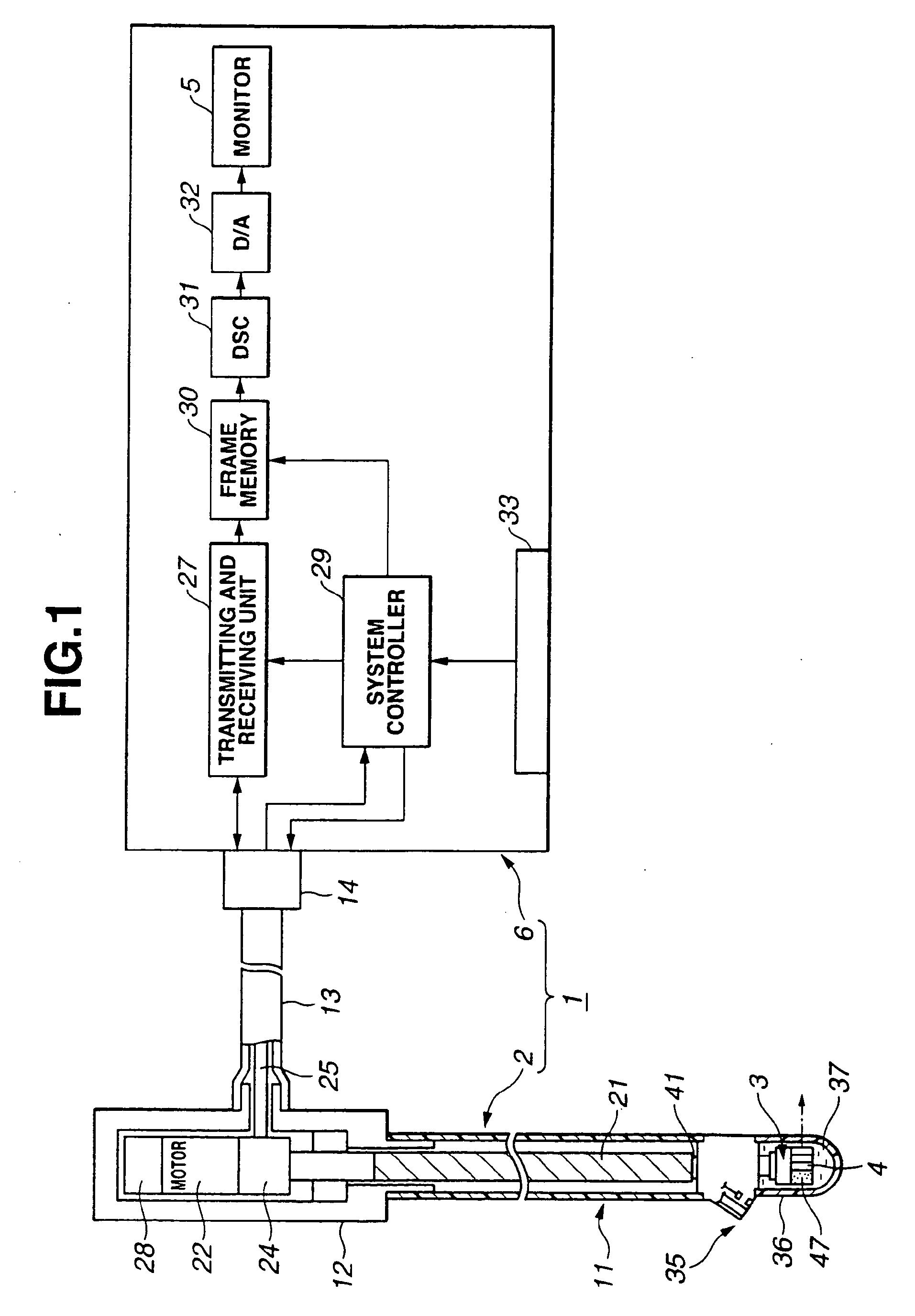
Ultrasonic probe
授权日:
2007-07-11
公开(公告)号:
EP1430838B1
申请日:
2003-12-17
公开(公告)日:
2007-07-11
当前申请(专利权)人:
OLYMPUS CORPORATION | GSK CORPORATION
发明人:
OMURA, MASAYOSHI | MIZUGUCHI, TOHRU | HATANO, KOUMEI
简单同族:
DE60314834D1 | DE60314834T2 | EP1430838A1 | EP1430838B1 | JP2004201138A | JP4004396B2 | US20040215079A1 | US7400079
简单同族成员数量:
8
简单同族被引用专利总数:
58
诉讼案件数:
0
法律状态/事件:
授权