首页
专利数据库
产业人才
行业动态
产业政策法规
维权援助
个人中心
登录/注册
详情
文本
图像
标题:
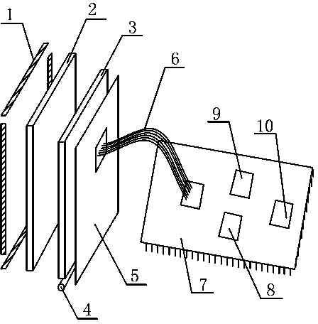
电力测控装置用液晶显示模块
授权日:
2015-06-10
公开(公告)号:
CN204389851U
申请日:
2015-02-03
公开(公告)日:
2015-06-10
当前申请(专利权)人:
成都赛诺菲电气有限公司
发明人:
袁朝朋 | 李擘
简单同族:
CN204389851U
简单同族成员数量:
1
简单同族被引用专利总数:
0
诉讼案件数:
0
法律状态/事件:
未缴年费 | 许可