首页
专利数据库
产业人才
行业动态
产业政策法规
维权援助
个人中心
登录/注册
详情
文本
图像
标题:
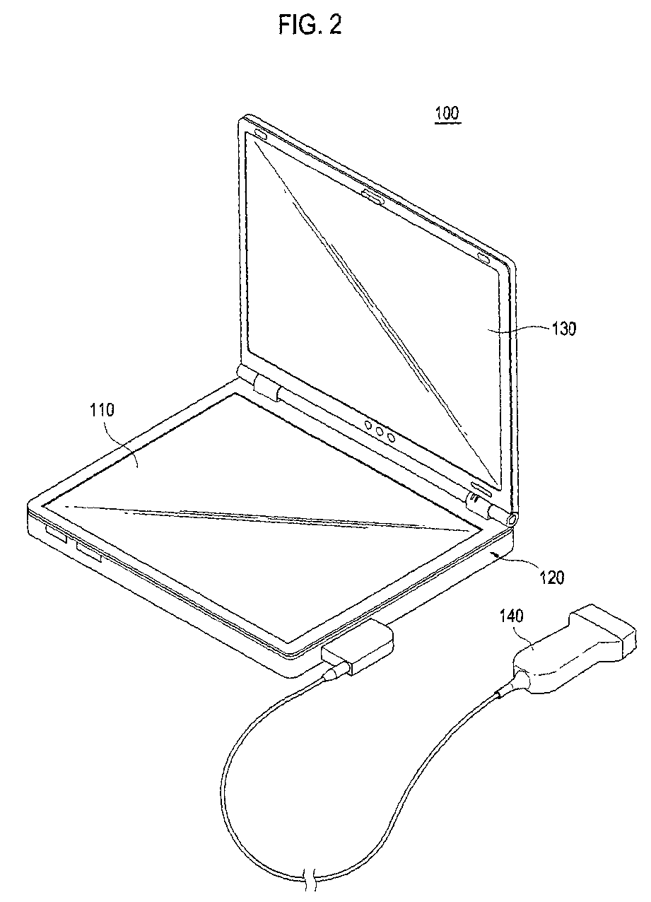
Portable ultrasound system
授权日:
1900-01-01
公开(公告)号:
EP1925257A1
申请日:
2007-10-29
公开(公告)日:
2008-05-28
当前申请(专利权)人:
MEDISON CO., LTD.
发明人:
SONG, YOUNG SEUK | KIM, JAE GYOUNG
简单同族:
DE602007002033D1 | EP1925257A1 | EP1925257B1 | KR100948050B1 | KR1020080046888A | US20080125655A1
简单同族成员数量:
6
简单同族被引用专利总数:
48
诉讼案件数:
0
法律状态/事件:
授权