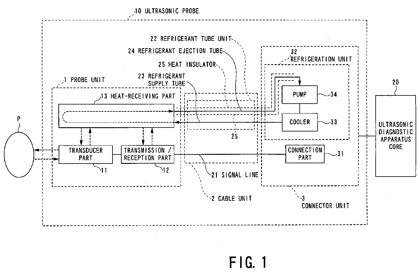
标题:
Ultrasonic probe and ultrasonic diagnostic apparatus
授权日:
1900-01-01
公开(公告)号:
EP1792571A1
申请日:
2005-10-26
公开(公告)日:
2007-06-06
当前申请(专利权)人:
KABUSHIKI KAISHA TOSHIBA | TOSHIBA MEDICAL SYSTEMS CORPORATION
发明人:
HASHIMOTO, SHINICHI, C/O INTELLECTUAL PROPERTY DEPARTMENT
简单同族:
CN102068278A | CN102068278B | DE602005011644D1 | DE602005011660D1 | DE602005021848D1 | EP1652476A2 | EP1652476A3 | EP1652476B1 | EP1792571A1 | EP1792571B1 | EP1806097A1 | EP1806097B1 | US20060100513A1 | US8333702
简单同族成员数量:
14
简单同族被引用专利总数:
39
诉讼案件数:
0
法律状态/事件:
授权