首页
专利数据库
产业人才
行业动态
产业政策法规
维权援助
个人中心
登录/注册
详情
文本
图像
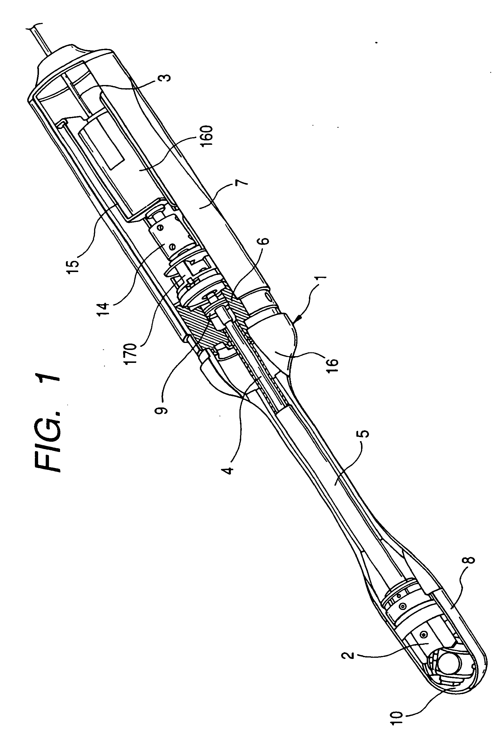
标题:
Ultrasonic probe
授权日:
2006-10-11
公开(公告)号:
EP1103222B1
申请日:
2000-11-13
公开(公告)日:
2006-10-11
当前申请(专利权)人:
MATSUSHITA ELECTRIC INDUSTRIAL CO., LTD.
发明人:
IRIOKA, KAZUYOSHI | OOKAWA, EIICHI | KOIZUMI, JUN
简单同族:
DE60031222D1 | DE60031222T2 | EP1103222A2 | EP1103222A3 | EP1103222B1 | JP2001149372A | US20030109786A1 | US6551245 | US6645151
简单同族成员数量:
9
简单同族被引用专利总数:
56
诉讼案件数:
0
法律状态/事件:
权利终止