首页
专利数据库
产业人才
行业动态
产业政策法规
维权援助
个人中心
登录/注册
详情
文本
图像
标题:
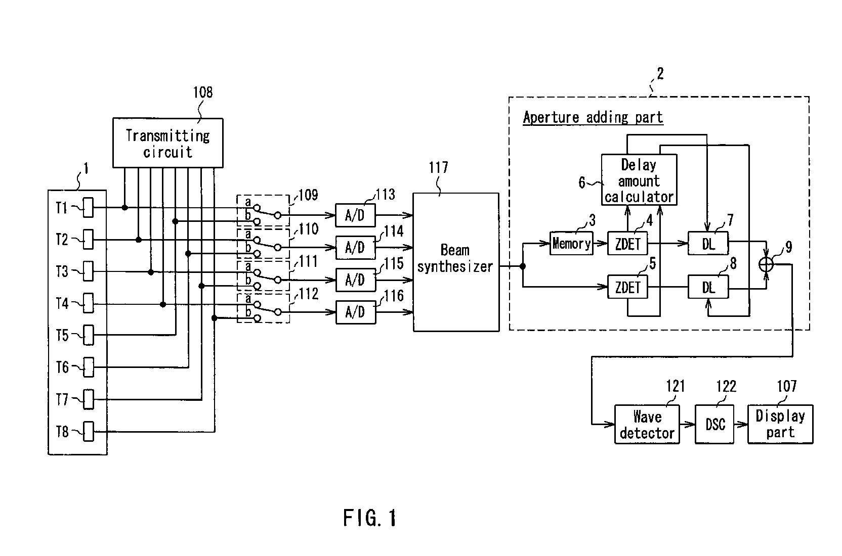
Ultrasonographic device
授权日:
1900-01-01
公开(公告)号:
EP1595501A1
申请日:
2004-02-18
公开(公告)日:
2005-11-16
当前申请(专利权)人:
MATSUSHITA ELECTRIC INDUSTRIAL CO., LTD.
发明人:
NISHIGAKI, MORIO
简单同族:
CN1750788A | EP1595501A1 | JP2004261229A | US20060241444A1 | WO2004073520A1
简单同族成员数量:
5
简单同族被引用专利总数:
23
诉讼案件数:
0
法律状态/事件:
撤回