首页
专利数据库
产业人才
行业动态
产业政策法规
维权援助
个人中心
登录/注册
详情
文本
图像
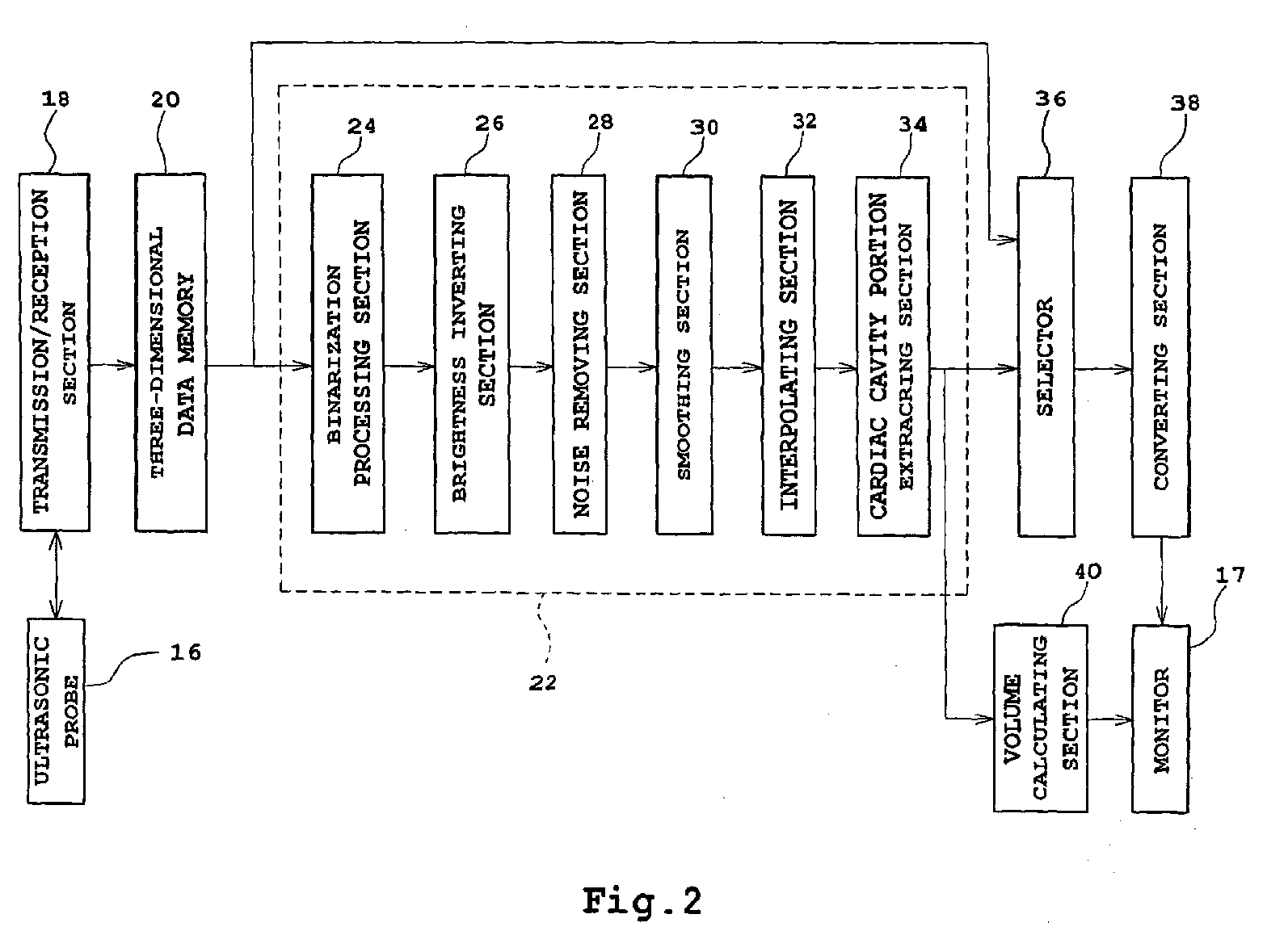
标题:
Ultrasonic diagnostic apparatus
授权日:
1900-01-01
公开(公告)号:
EP1419737A1
申请日:
2003-10-22
公开(公告)日:
2004-05-19
当前申请(专利权)人:
ALOKA CO. LTD.
发明人:
MURASHITA, MASARU
简单同族:
DE60314822D1 | DE60314822T2 | EP1419737A1 | EP1419737B1 | EP1419737B9 | JP2004159997A | JP3944059B2 | US20040097808A1 | US7223240
简单同族成员数量:
9
简单同族被引用专利总数:
33
诉讼案件数:
0
法律状态/事件:
权利终止