首页
专利数据库
产业人才
行业动态
产业政策法规
维权援助
个人中心
登录/注册
详情
文本
图像
标题:
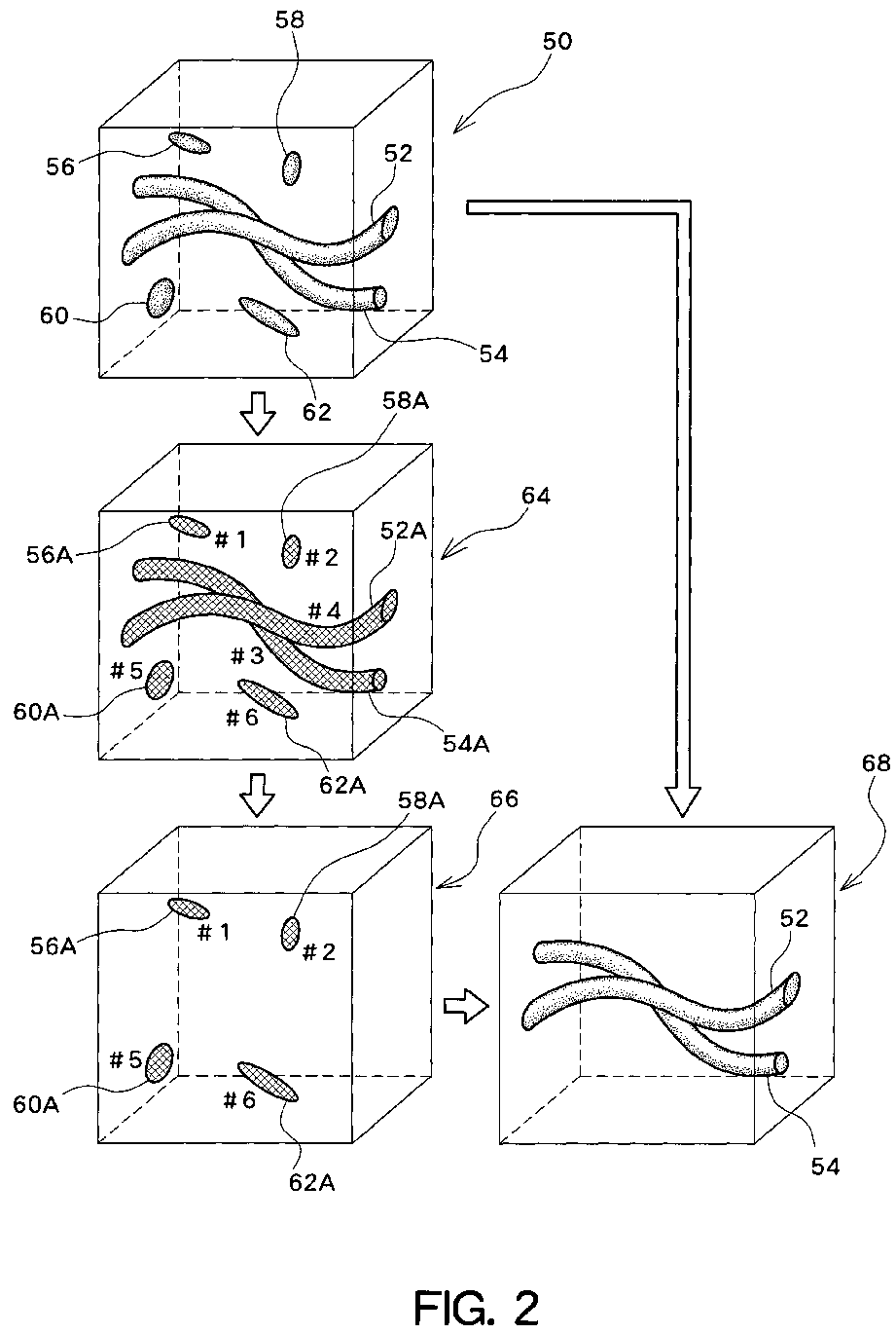
Ultrasound diagnostic apparatus
授权日:
1900-01-01
公开(公告)号:
EP2016905A2
申请日:
2008-07-10
公开(公告)日:
2009-01-21
当前申请(专利权)人:
HITACHI ALOKA MEDICAL, LTD.
发明人:
MURASHITA, MASARU
简单同族:
CN101347341A | CN101347341B | EP2016905A2 | EP2016905A3 | EP2016905B1 | JP2009022342A | JP5226978B2 | US20090024029A1 | US8202220
简单同族成员数量:
9
简单同族被引用专利总数:
37
诉讼案件数:
0
法律状态/事件:
权利终止 | 权利转移