首页
专利数据库
产业人才
行业动态
产业政策法规
维权援助
个人中心
登录/注册
详情
文本
图像
标题:
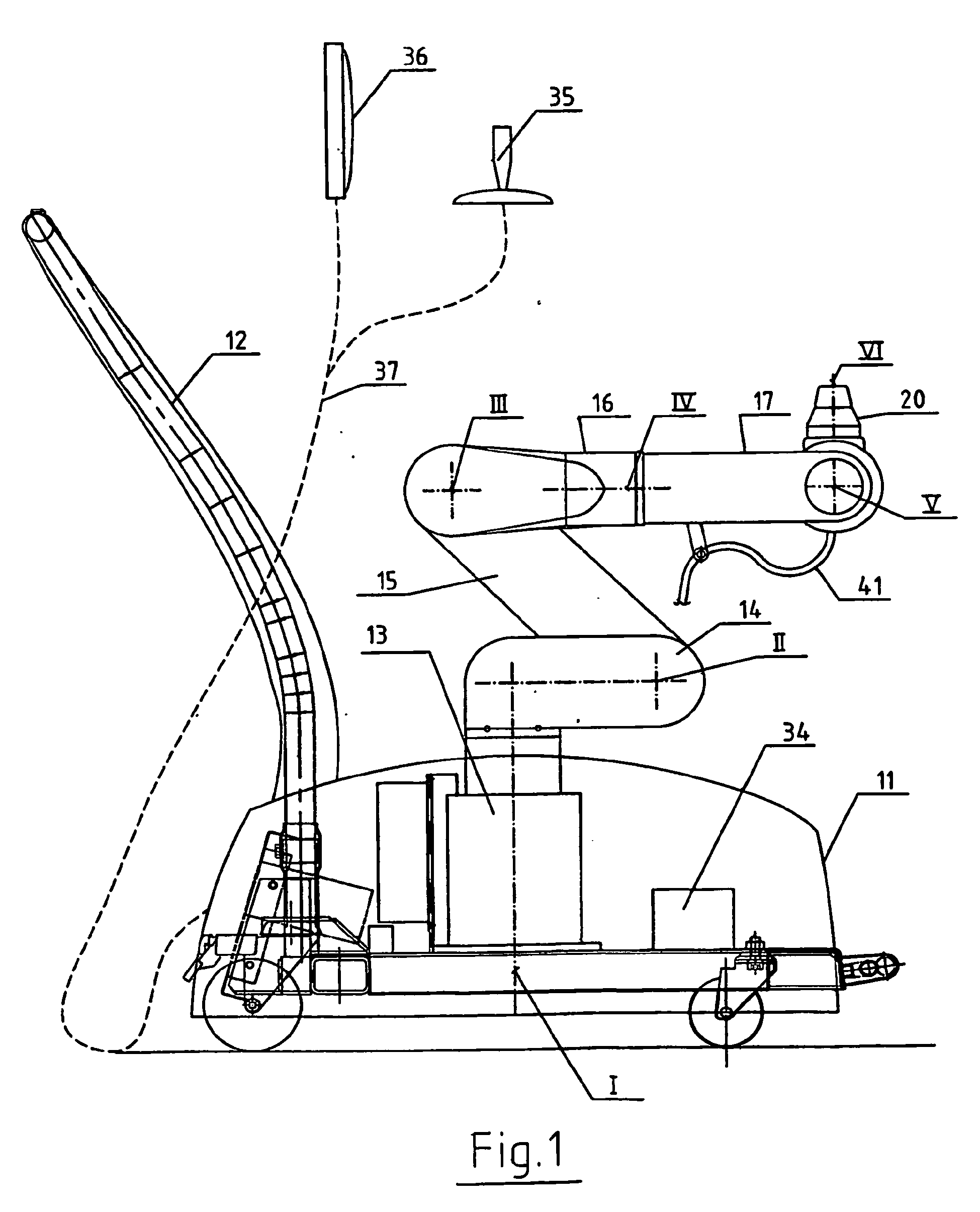
Robot for ultrasonic examination
授权日:
2012-05-23
公开(公告)号:
EP1804668B1
申请日:
2004-10-18
公开(公告)日:
2012-05-23
当前申请(专利权)人:
MOBILE ROBOTICS SWEDEN AB
发明人:
NILSSON, DAN
简单同族:
EP1804668A1 | EP1804668B1 | US20070205785A1 | US7753851 | WO2006043859A1
简单同族成员数量:
5
简单同族被引用专利总数:
36
诉讼案件数:
0
法律状态/事件:
授权