首页
专利数据库
产业人才
行业动态
产业政策法规
维权援助
个人中心
登录/注册
详情
文本
图像
标题:
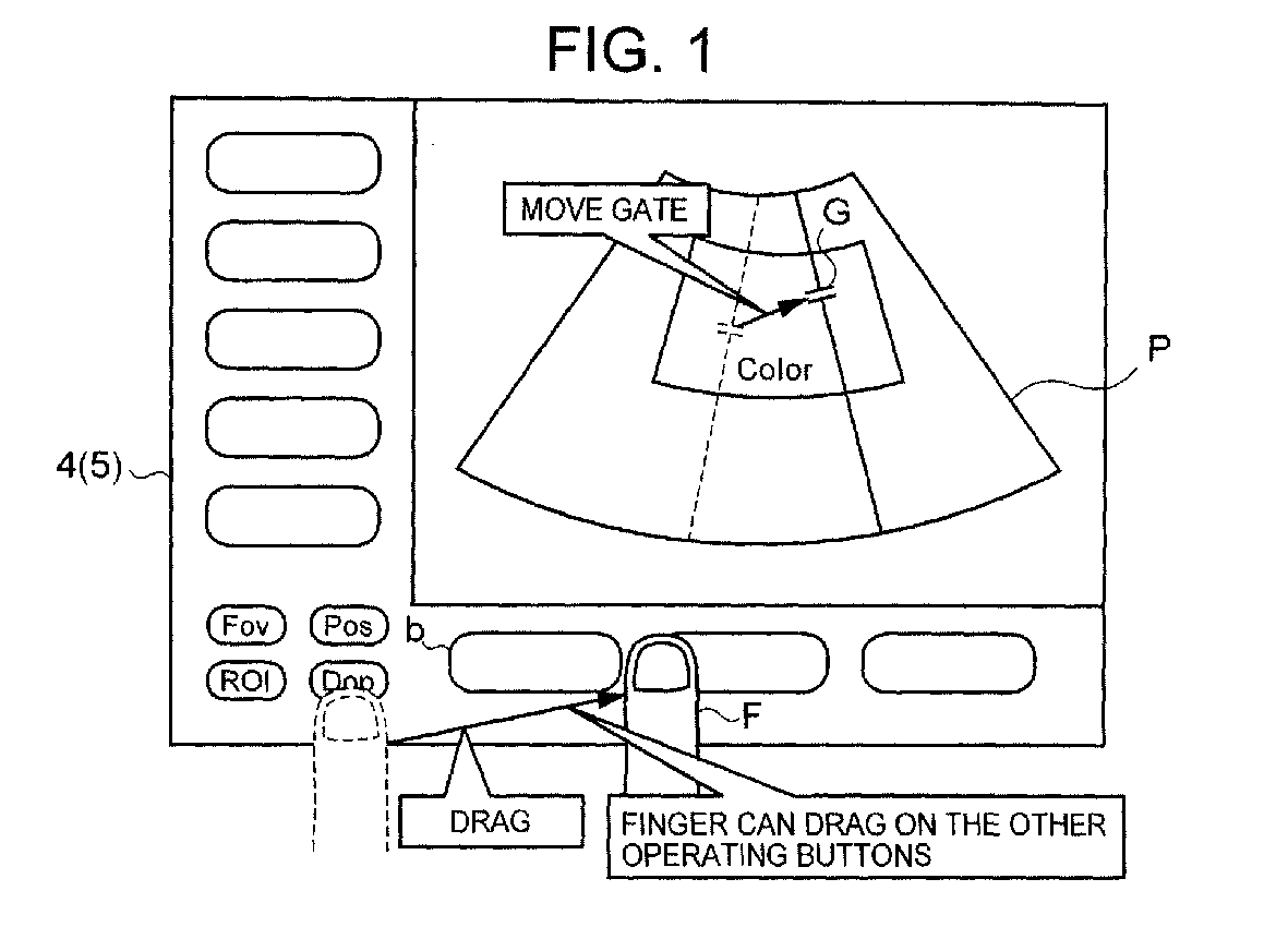
Ultrasonograph
授权日:
1900-01-01
公开(公告)号:
EP2255730A1
申请日:
2009-03-02
公开(公告)日:
2010-12-01
当前申请(专利权)人:
KONICA MINOLTA, INC.
发明人:
FUKAI, SEIICHI | SAITO, MASAHIRO | SAKAI, TAKASHI | OKAMOTO, YUKIKO
简单同族:
CN102006828A | CN102006828B | EP2255730A1 | EP2255730A4 | KR1020100110893A | US10687780 | US20100321324A1 | WO2009110211A1
简单同族成员数量:
8
简单同族被引用专利总数:
64
诉讼案件数:
0
法律状态/事件:
撤回 | 权利转移