首页
专利数据库
产业人才
行业动态
产业政策法规
维权援助
个人中心
登录/注册
详情
文本
图像
标题:
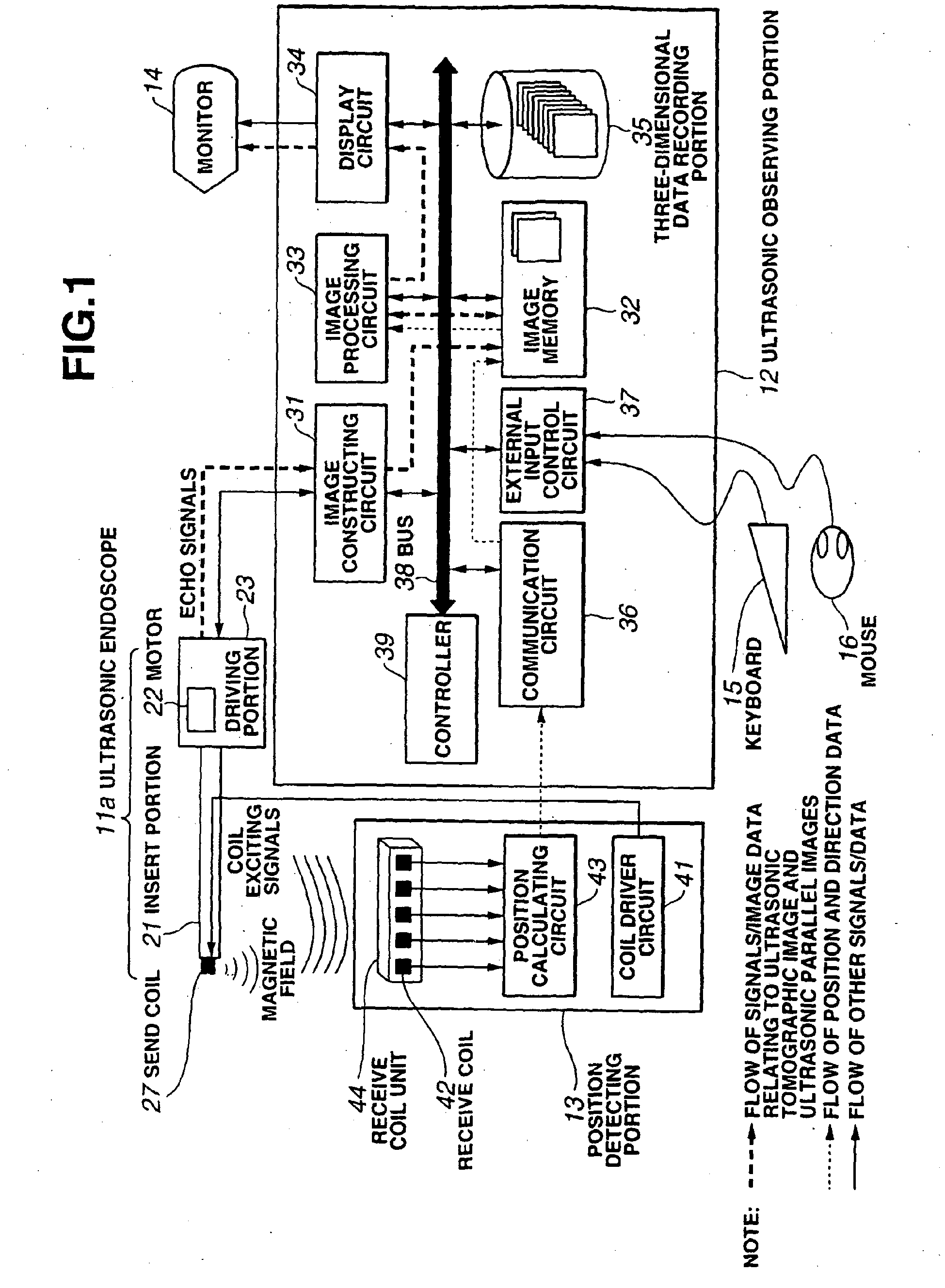
ultrasonograph
授权日:
2010-01-06
公开(公告)号:
EP1504721B1
申请日:
2003-09-18
公开(公告)日:
2010-01-06
当前申请(专利权)人:
OLYMPUS CORPORATION
发明人:
KAWASHIMA, TOMONAO | KISHI, KENJI
简单同族:
AT454092T | AT499880T | DE60330858D1 | DE60336281D1 | EP1504721A1 | EP1504721A4 | EP1504721B1 | EP2042102A1 | EP2042102B1 | US20050256402A1 | US7775977 | WO2004028375A1
简单同族成员数量:
12
简单同族被引用专利总数:
74
诉讼案件数:
0
法律状态/事件:
权利终止