首页
专利数据库
产业人才
行业动态
产业政策法规
维权援助
个人中心
登录/注册
详情
文本
图像
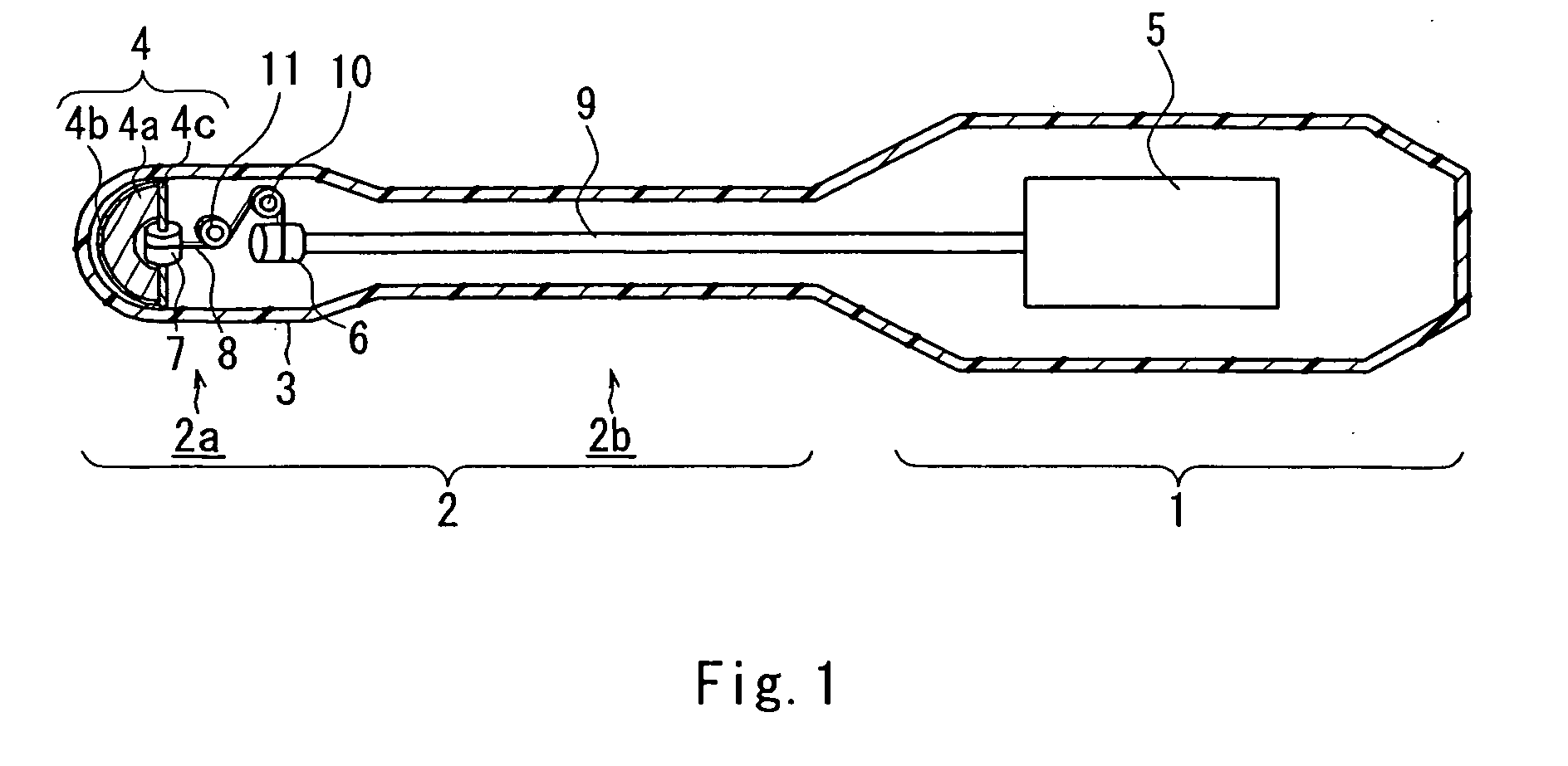
标题:
Ultrasonic probe
授权日:
1900-01-01
公开(公告)号:
EP1576926A1
申请日:
2003-12-22
公开(公告)日:
2005-09-21
当前申请(专利权)人:
PANASONIC CORPORATION
发明人:
KADOKURA, MASAHIKO
简单同族:
CN100374082C | CN1720006A | EP1576926A1 | EP1576926A4 | EP1576926B1 | JP2004201818A | JP3664710B2 | KR100636626B1 | KR1020050086646A | US20060074316A1 | US8083681 | WO2004058073A1
简单同族成员数量:
12
简单同族被引用专利总数:
44
诉讼案件数:
0
法律状态/事件:
权利终止 | 权利转移