标题:
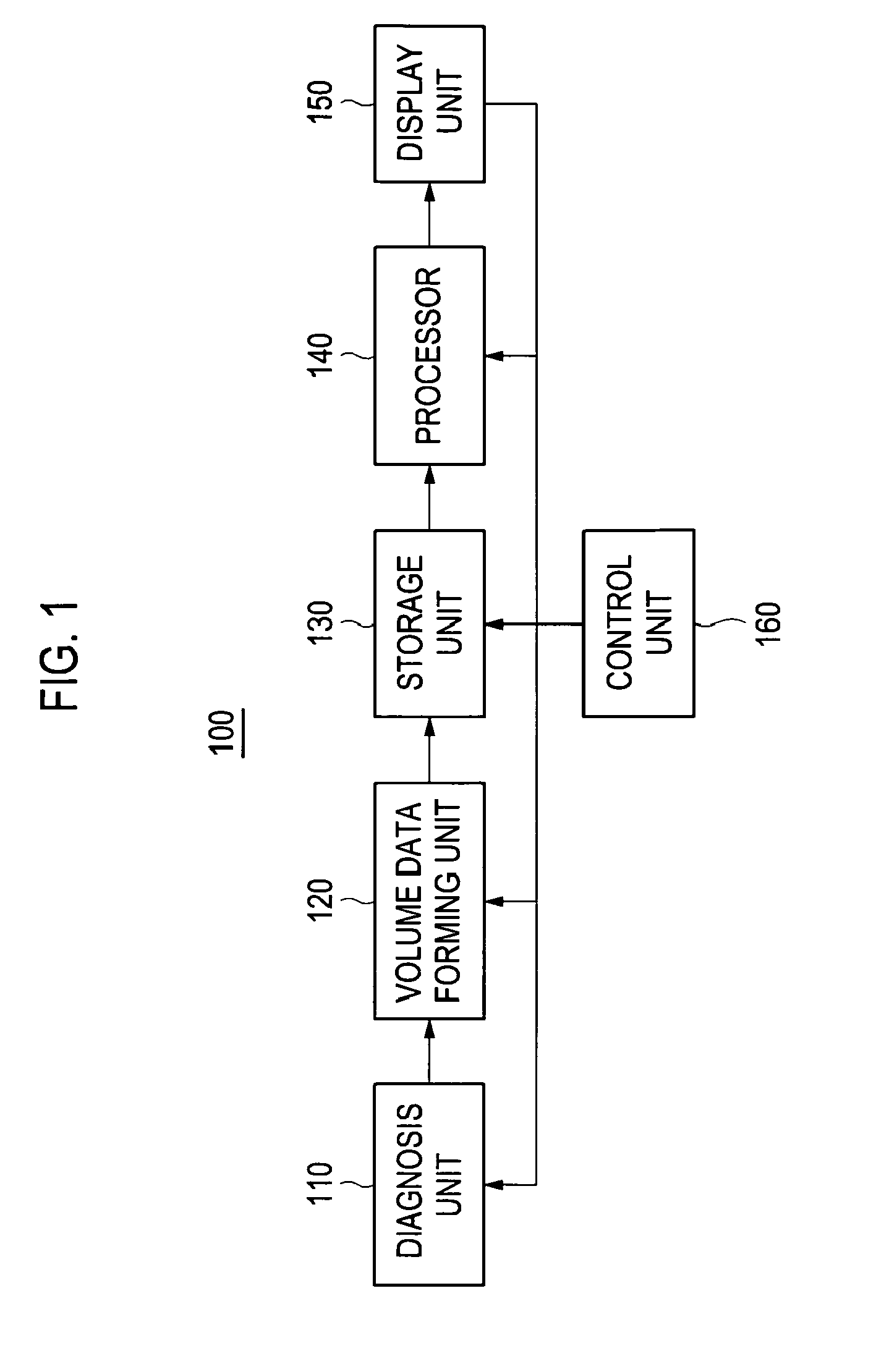
Ultrasound system and method for forming an ultrasound image
授权日:
1900-01-01
公开(公告)号:
EP1872723A1
申请日:
2007-06-27
公开(公告)日:
2008-01-02
当前申请(专利权)人:
MEDISON CO., LTD.
发明人:
KIM, TAE YUN DISCUSSER&MEDISON BUILDING | LEE, JIN YONG DISCUSSER & MEDISON BUILDING
简单同族:
EP1872723A1 | JP2008006294A | JP5202886B2 | KR100948047B1 | KR1020080001059A | US20080044054A1 | US8103066
简单同族成员数量:
7
简单同族被引用专利总数:
35
诉讼案件数:
0
法律状态/事件:
撤回