首页
专利数据库
产业人才
行业动态
产业政策法规
维权援助
个人中心
登录/注册
详情
文本
图像
标题:
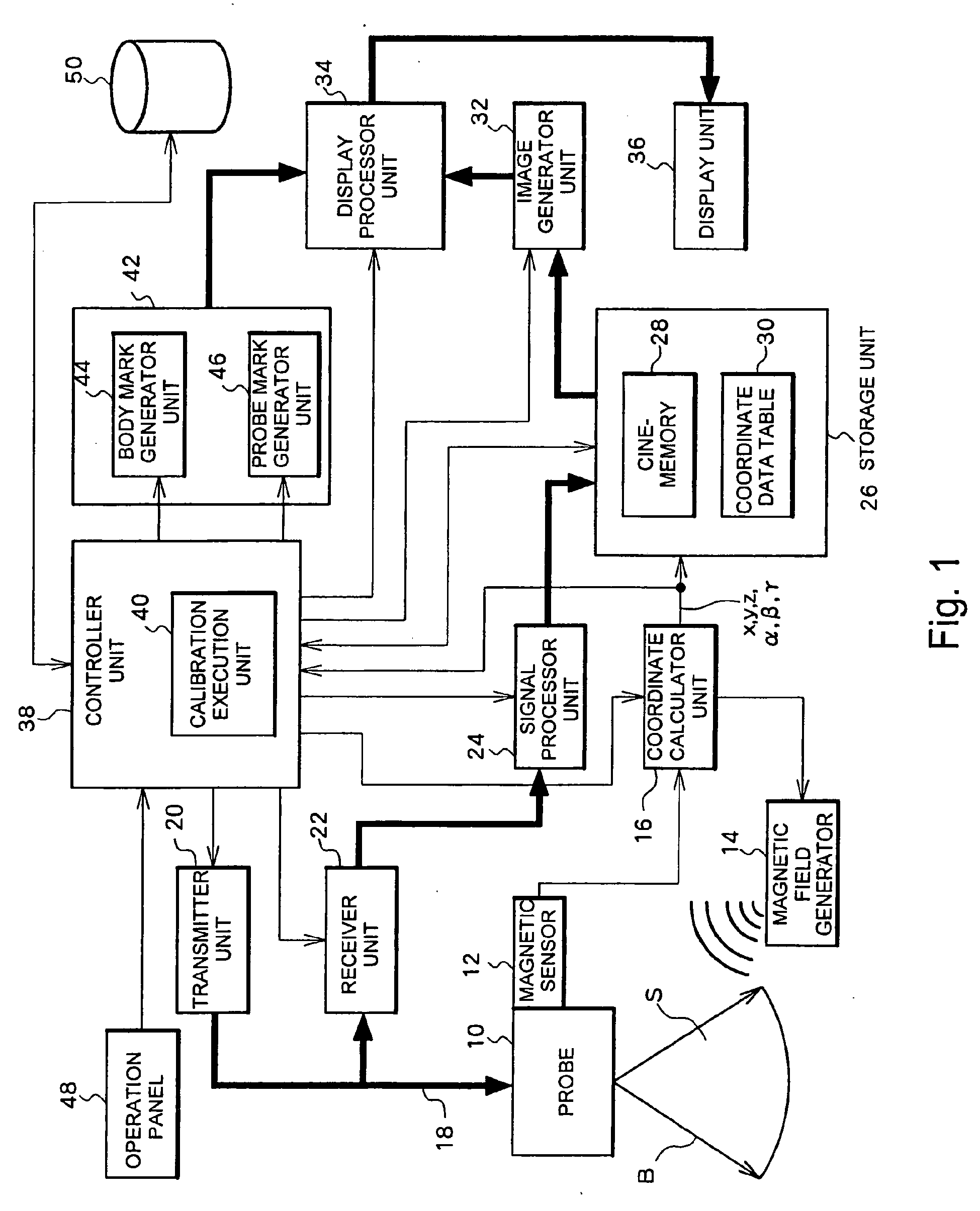
Ultrasound diagnosis apparatus
授权日:
2016-08-17
公开(公告)号:
EP1523940B1
申请日:
2004-10-12
公开(公告)日:
2016-08-17
当前申请(专利权)人:
HITACHI ALOKA MEDICAL, LTD.
发明人:
OHTAKE, AKIFUMI
简单同族:
CN1606966A | CN1606966B | EP1523940A1 | EP1523940B1 | JP2005118142A | JP4167162B2 | US20050090746A1
简单同族成员数量:
7
简单同族被引用专利总数:
100
诉讼案件数:
0
法律状态/事件:
权利终止 | 权利转移