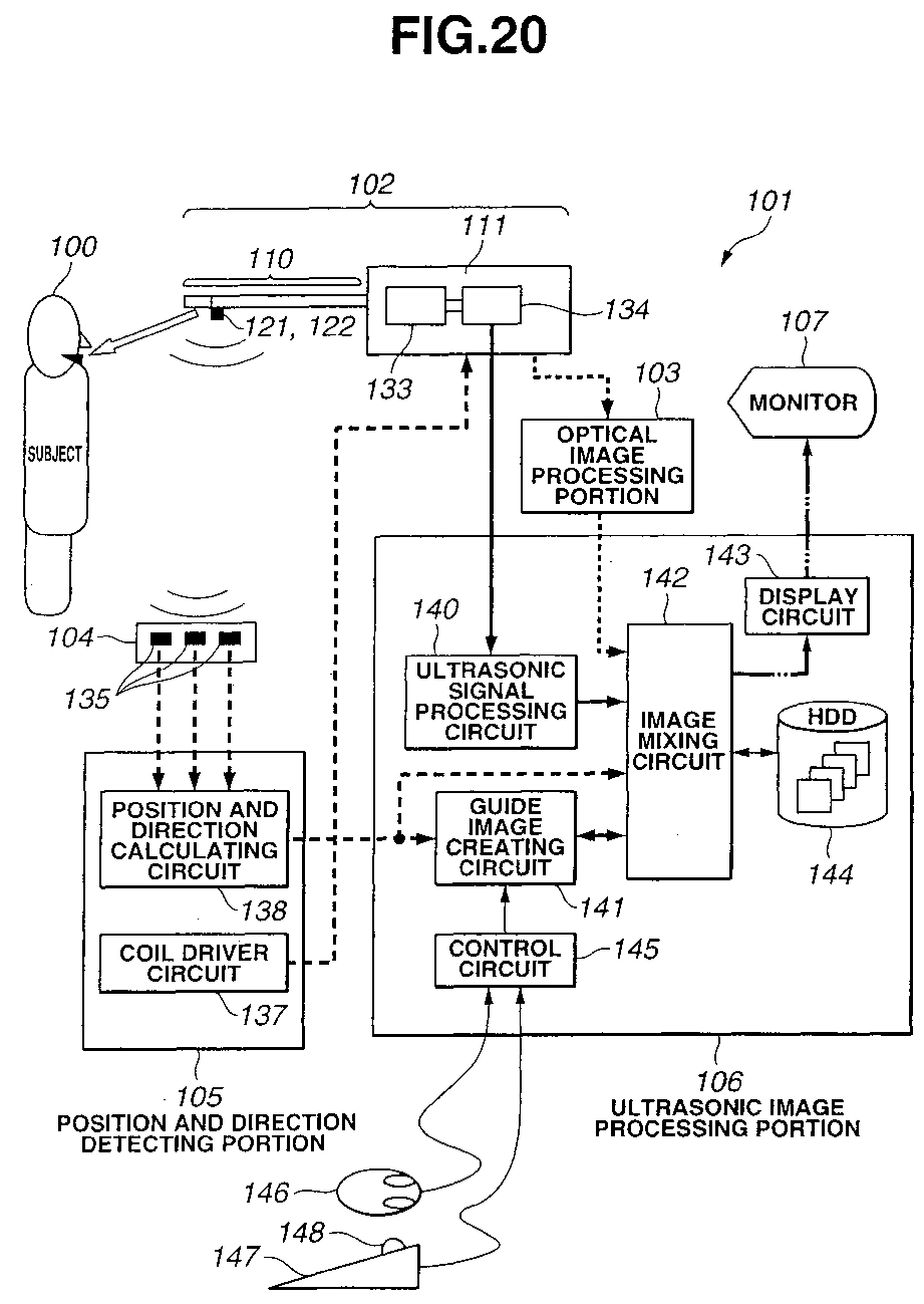
标题:
Ultrasonic endoscopic diagnostic apparatus
授权日:
1900-01-01
公开(公告)号:
EP2042102A1
申请日:
2003-09-18
公开(公告)日:
2009-04-01
当前申请(专利权)人:
OLYMPUS CORPORATION
发明人:
KAWASHIMA, TOMONAO | KISHI, KENJI
简单同族:
AT454092T | AT499880T | DE60330858D1 | DE60336281D1 | EP1504721A1 | EP1504721A4 | EP1504721B1 | EP2042102A1 | EP2042102B1 | US20050256402A1 | US7775977 | WO2004028375A1
简单同族成员数量:
12
简单同族被引用专利总数:
74
诉讼案件数:
0
法律状态/事件:
权利终止