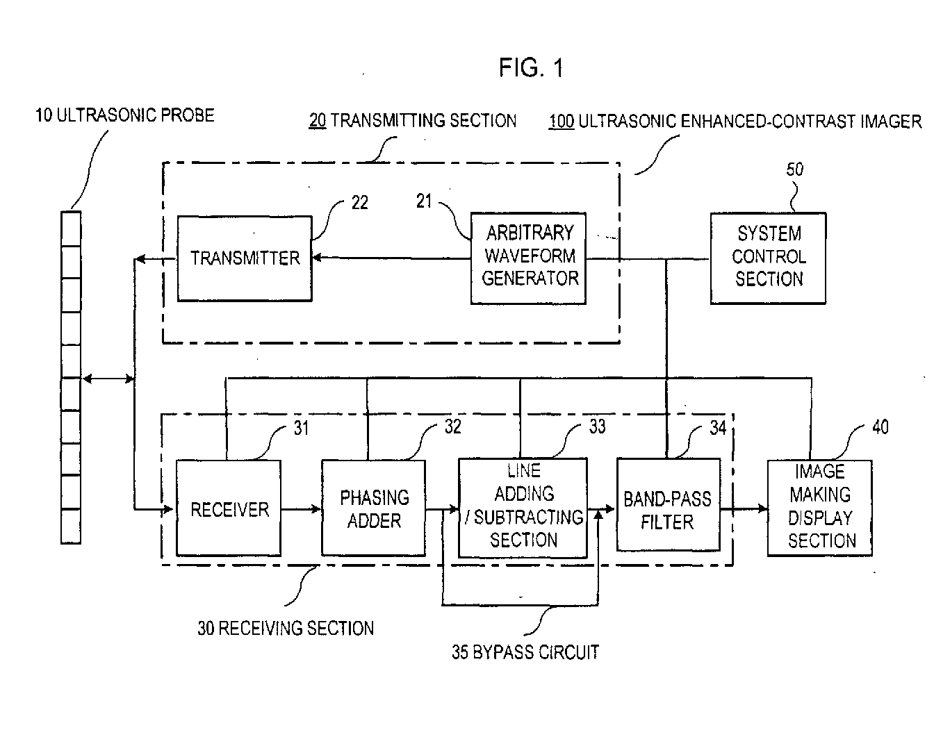
标题:
Ultrasonic enhanced-contrast imager and its method
授权日:
1900-01-01
公开(公告)号:
EP1358849A1
申请日:
2002-02-01
公开(公告)日:
2003-11-05
当前申请(专利权)人:
HITACHI MEDICAL CORPORATION
发明人:
KANDA, HIROSHI | HAYASHI, TATSUYA | MITAKE, TSUYOSHI | YOSHIDA, MINORU
简单同族:
DE60239785D1 | EP1358849A1 | EP1358849A4 | EP1358849B1 | EP2305121A1 | EP2305121B1 | US20040059218A1 | US20070173723A1 | US7198601 | US7850612 | WO2002060326A1
简单同族成员数量:
11
简单同族被引用专利总数:
42
诉讼案件数:
0
法律状态/事件:
权利终止