首页
专利数据库
产业人才
行业动态
产业政策法规
维权援助
个人中心
登录/注册
详情
文本
图像
标题:
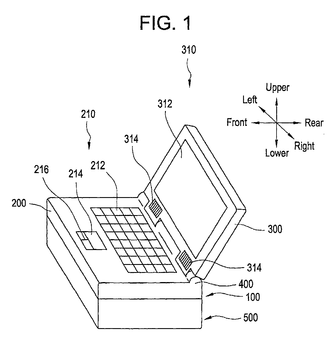
Ultrasonic imaging apparatus
授权日:
1900-01-01
公开(公告)号:
EP1215510A3
申请日:
2001-12-14
公开(公告)日:
2003-10-01
当前申请(专利权)人:
GE MEDICAL SYSTEMS GLOBAL TECHNOLOGY COMPANY LLC
发明人:
AMEMIYA, SHINICHI
简单同族:
CN1359658A | EP1215510A2 | EP1215510A3 | JP2002200079A | JP3828744B2 | KR1020020048888A | US20020077548A1 | US6669634
简单同族成员数量:
8
简单同族被引用专利总数:
42
诉讼案件数:
0
法律状态/事件:
驳回