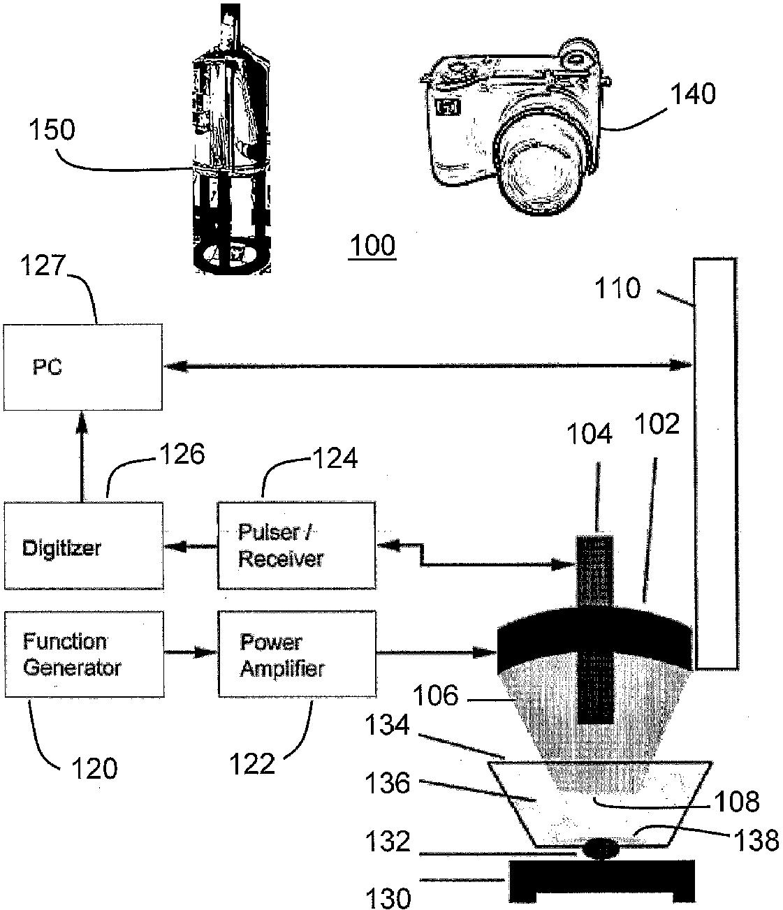
标题:
Systems and methods for opening of the blood-brain barrier of a subject using ultrasound
授权日:
1900-01-01
公开(公告)号:
EP1937151A4
申请日:
2006-09-19
公开(公告)日:
2011-07-06
当前申请(专利权)人:
THE TRUSTEES OF COLUMBIA UNIVERSITY IN THE CITY OF NEW YORK
发明人:
KONOFAGOU, ELISA, E. | CHOI, JAMES, J. | PERNOT, MATHIEU | SMALL, SCOTT, A.
简单同族:
EP1937151A2 | EP1937151A4 | US20090005711A1 | WO2007035721A2 | WO2007035721A3
简单同族成员数量:
5
简单同族被引用专利总数:
42
诉讼案件数:
0
法律状态/事件:
撤回