首页
专利数据库
产业人才
行业动态
产业政策法规
维权援助
个人中心
登录/注册
详情
文本
图像
标题:
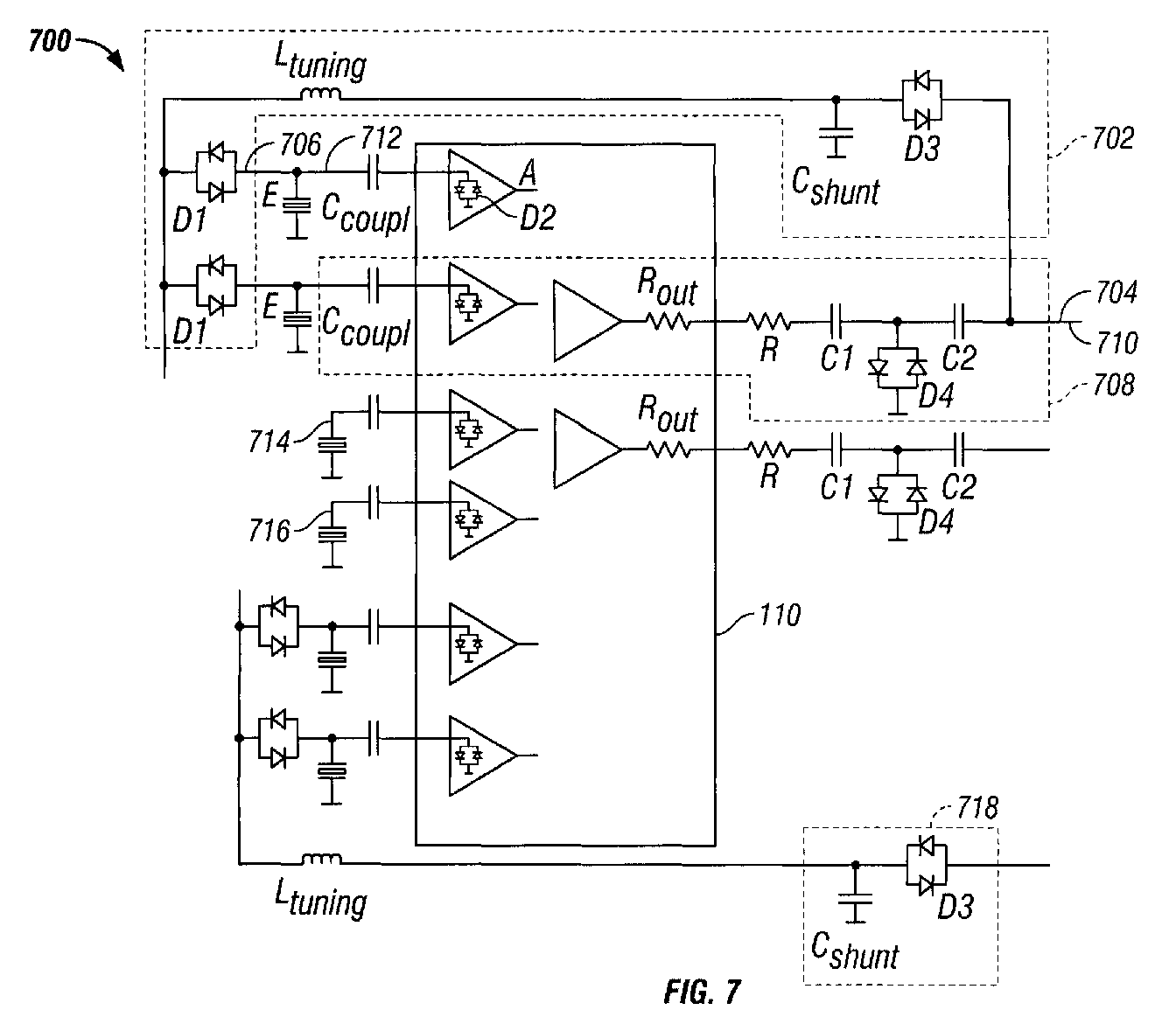
Ultrasound probe transceiver circuitry
授权日:
1900-01-01
公开(公告)号:
EP1533626A2
申请日:
2004-11-17
公开(公告)日:
2005-05-25
当前申请(专利权)人:
GENERAL ELECTRIC COMPANY
发明人:
KRISTOFFERSEN, KJELL | HAUGEN, GEIR ULTVEIT | LINNERUD, PER ARNE
简单同族:
EP1533626A2 | EP1533626A3 | JP2005152630A | JP4774205B2 | US20050113698A1
简单同族成员数量:
5
简单同族被引用专利总数:
32
诉讼案件数:
0
法律状态/事件:
驳回