首页
专利数据库
产业人才
行业动态
产业政策法规
维权援助
个人中心
登录/注册
详情
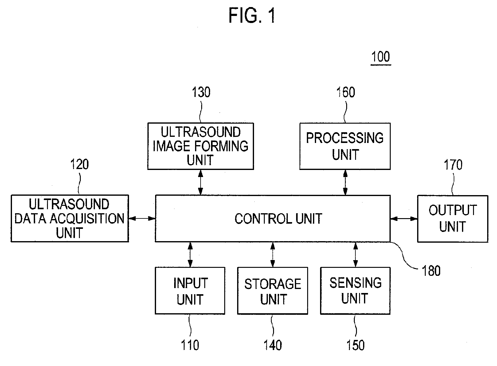
文本
图像
标题:
Image indicator provision in an ultrasound system
授权日:
1900-01-01
公开(公告)号:
EP2213240A1
申请日:
2010-01-18
公开(公告)日:
2010-08-04
当前申请(专利权)人:
MEDISON CO., LTD.
发明人:
HYUN, DONG GYU | SHINOZUKA, NORIO
简单同族:
EP2213240A1 | JP2010172701A | JP2010172701A5 | KR101182880B1 | KR1020100087521A | US20100191114A1 | US9211105
简单同族成员数量:
7
简单同族被引用专利总数:
39
诉讼案件数:
0
法律状态/事件:
驳回