首页
专利数据库
产业人才
行业动态
产业政策法规
维权援助
个人中心
登录/注册
详情
文本
图像
标题:
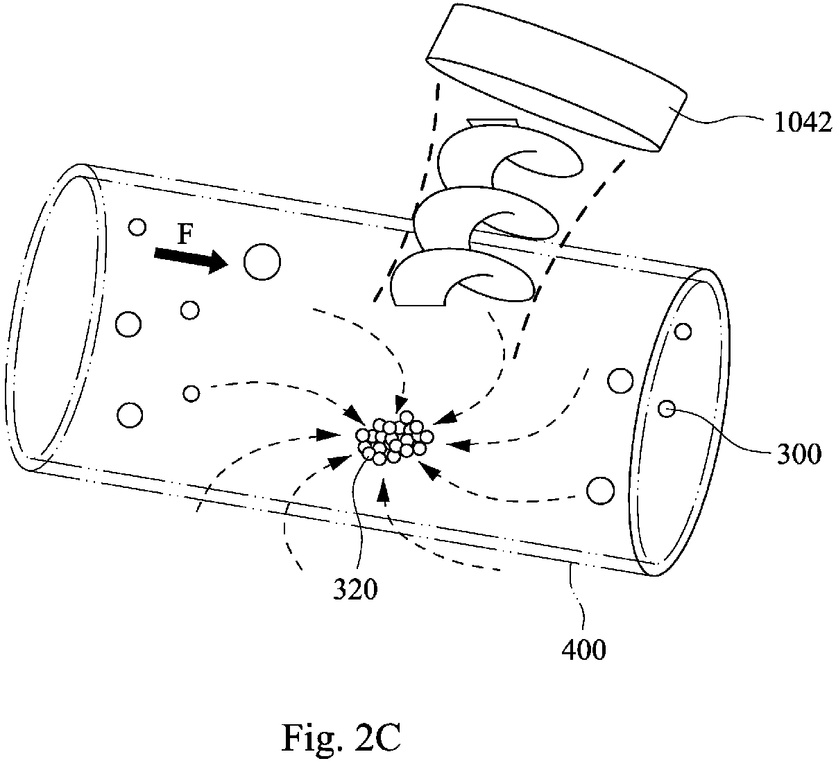
Ultrasonic device for transversely manipulating drug delivery carriers
授权日:
1900-01-01
公开(公告)号:
EP3292882A1
申请日:
2016-09-13
公开(公告)日:
2018-03-14
当前申请(专利权)人:
NATIONAL TSING HUA UNIVERSITY
发明人:
LO, WEI-CHEN | YEH, CHIH-KUANG | KANG, SHIH-TSUNG | HSIEH, ZONG-HAN
简单同族:
EP3292882A1 | EP3292882B1
简单同族成员数量:
2
简单同族被引用专利总数:
0
诉讼案件数:
0
法律状态/事件:
授权