标题:
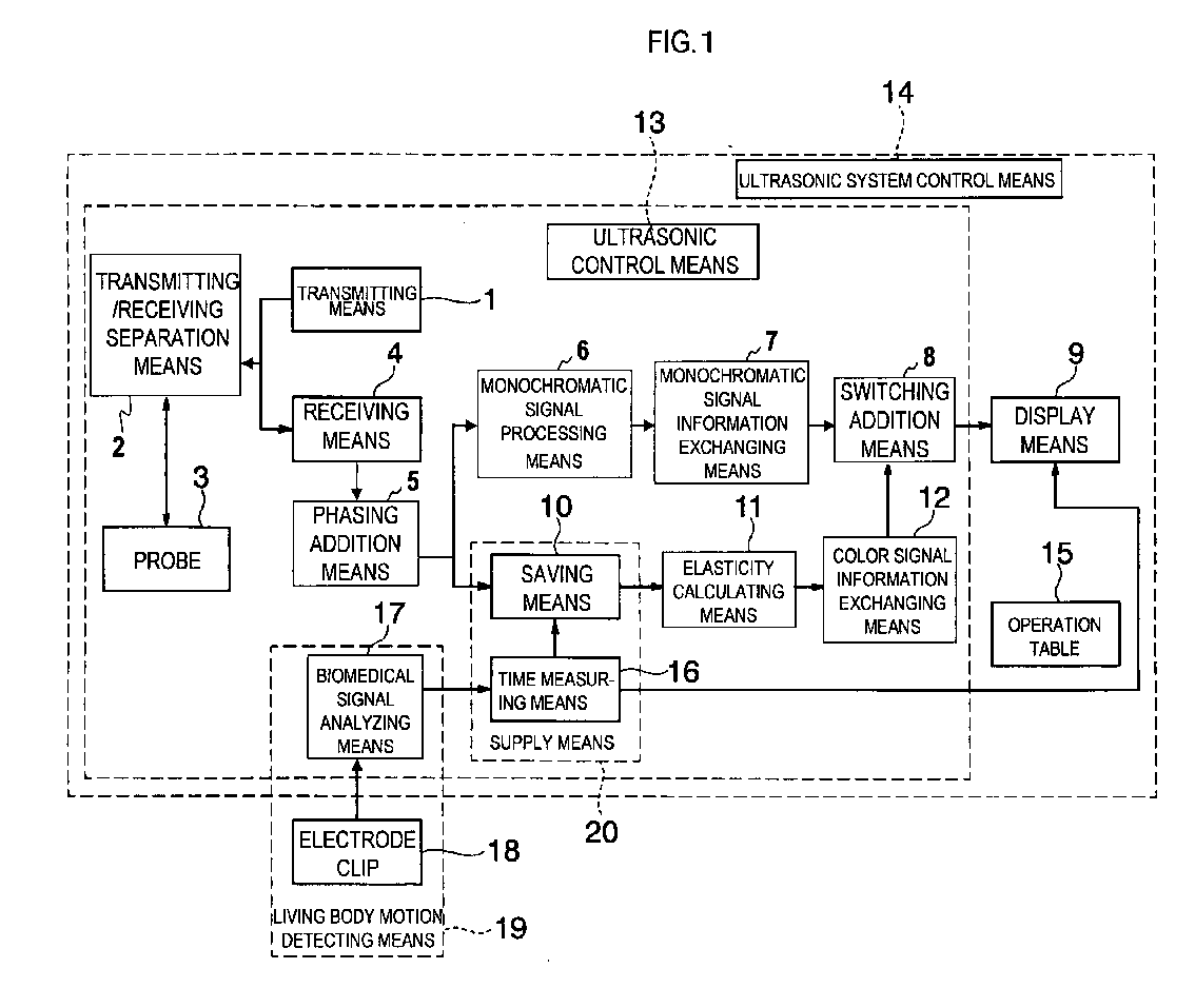
Ultrasonographic device and ultrasonic elastic image acquisition method
授权日:
1900-01-01
公开(公告)号:
EP1891900A1
申请日:
2006-06-06
公开(公告)日:
2008-02-27
当前申请(专利权)人:
HITACHI MEDICAL CORPORATION
发明人:
OSAKA, TAKASHI | MURAYAMA, NAOYUKI
简单同族:
CN101175444A | CN101175444B | EP1891900A1 | EP1891900A4 | JP5258291B2 | JPWO2006132203A1 | JPWO2006132203A5 | US20090105589A1 | WO2006132203A1
简单同族成员数量:
9
简单同族被引用专利总数:
62
诉讼案件数:
0
法律状态/事件:
撤回