首页
专利数据库
产业人才
行业动态
产业政策法规
维权援助
个人中心
登录/注册
详情
文本
图像
标题:
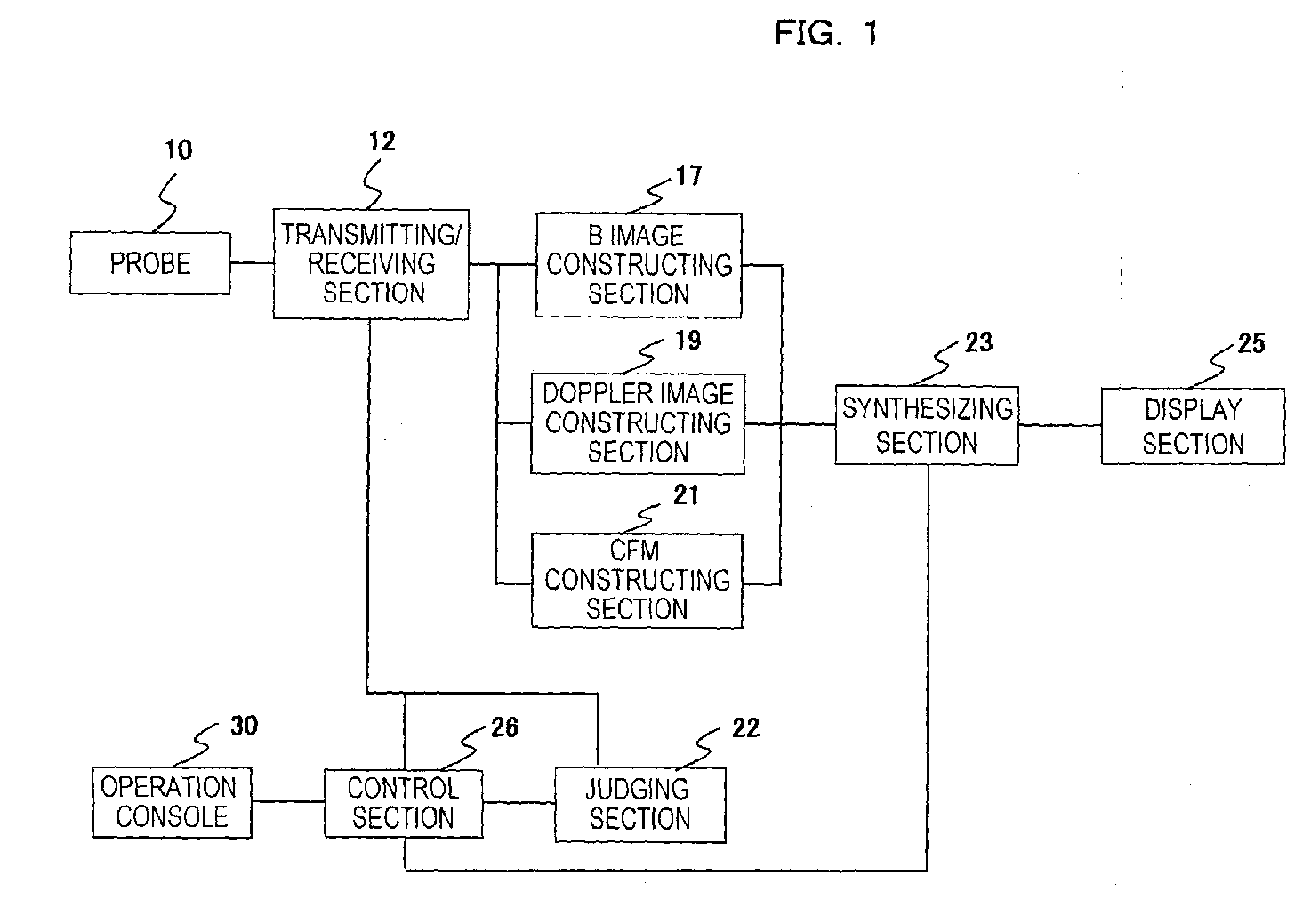
ultrasonograph
授权日:
1900-01-01
公开(公告)号:
EP1614386A1
申请日:
2004-04-02
公开(公告)日:
2006-01-11
当前申请(专利权)人:
HITACHI MEDICAL CORPORATION
发明人:
KISHIMOTO, SHINJI
简单同族:
EP1614386A1 | EP1614386A4 | JP4651535B2 | JPWO2004089221A1 | JPWO2004089221A5 | US20070112266A1 | US8267864 | WO2004089221A1
简单同族成员数量:
8
简单同族被引用专利总数:
40
诉讼案件数:
0
法律状态/事件:
撤回