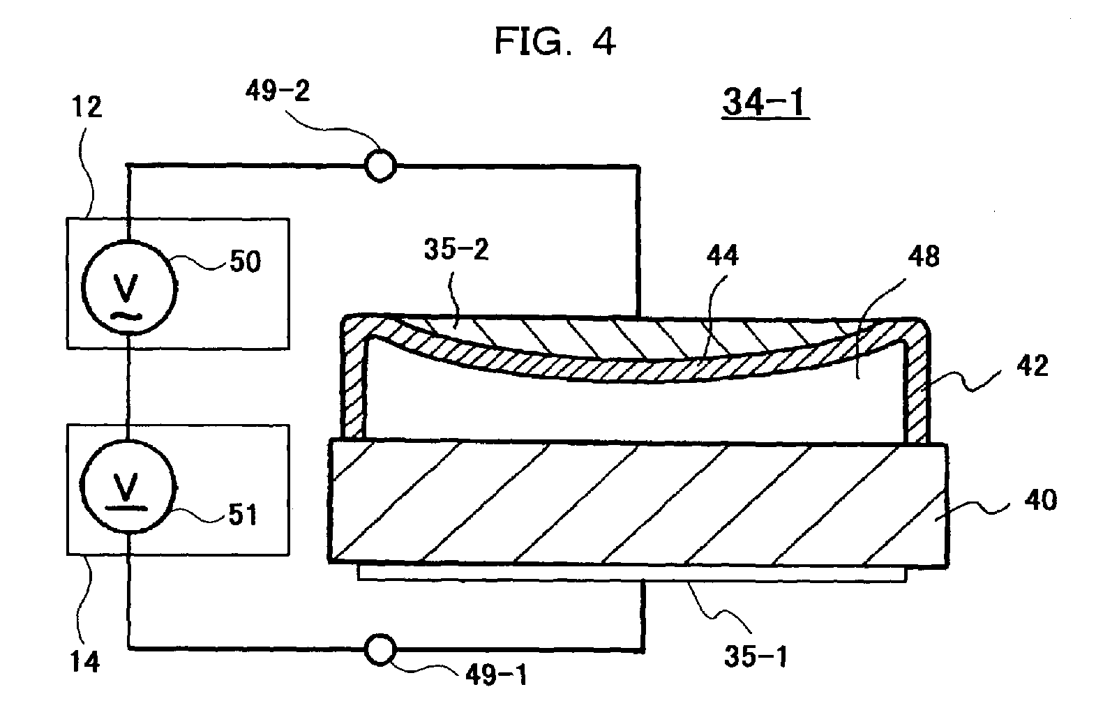
标题:
Ultrasonic probe, ultrasonogrphic device, and ultrasonographic method
授权日:
1900-01-01
公开(公告)号:
EP1671589A1
申请日:
2004-09-24
公开(公告)日:
2006-06-21
当前申请(专利权)人:
HITACHI, LTD.
发明人:
OSHIKI, MITSUHIRO | KANDA, HIROSHI | SHINOMURA, RYUICHI
简单同族:
CN1863485A | CN1863485B | EP1671589A1 | EP1671589A4 | JP4688213B2 | JPWO2005032374A1 | JPWO2005032374A5 | US20070016020A1 | WO2005032374A1
简单同族成员数量:
9
简单同族被引用专利总数:
71
诉讼案件数:
0
法律状态/事件:
实质审查 | 权利转移