首页
专利数据库
产业人才
行业动态
产业政策法规
维权援助
个人中心
登录/注册
详情
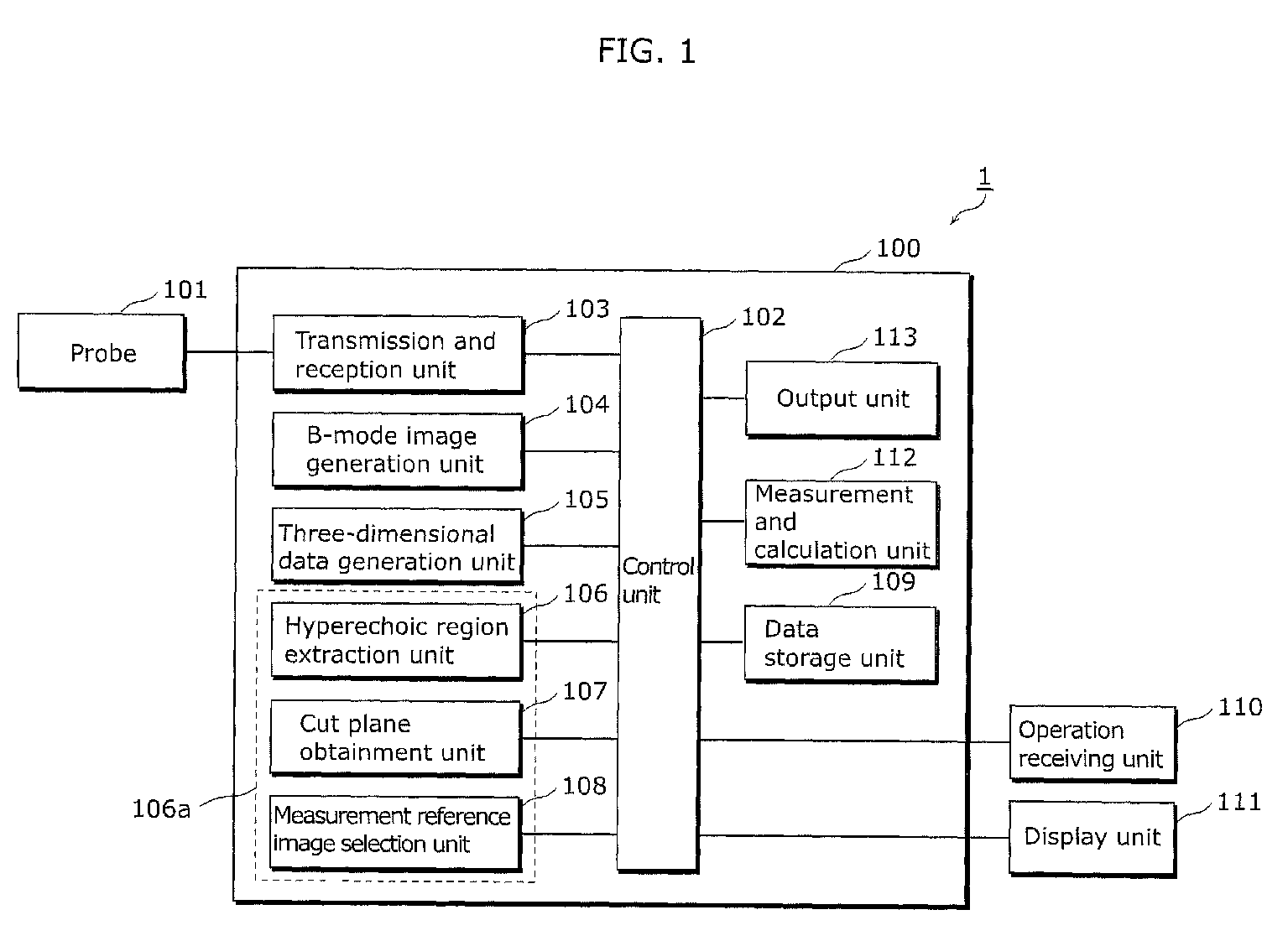
文本
图像
标题:
Ultrasound diagnostic equipment
授权日:
1900-01-01
公开(公告)号:
EP2623033A1
申请日:
2011-09-26
公开(公告)日:
2013-08-07
当前申请(专利权)人:
KONICA MINOLTA, INC.
发明人:
TOJI, BUNPEI
简单同族:
CN102639063A | CN102639063B | EP2623033A1 | EP2623033A4 | EP2623033B1 | JP2015226836A | JP5794226B2 | JP6131990B2 | JPWO2012042808A1 | US20120232394A1 | WO2012042808A1
简单同族成员数量:
11
简单同族被引用专利总数:
33
诉讼案件数:
0
法律状态/事件:
授权 | 权利转移