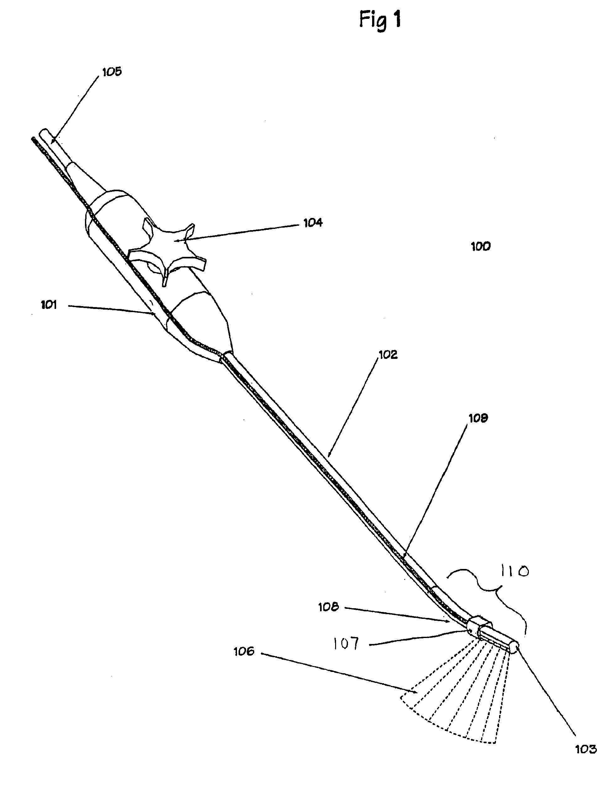
标题:
Device and method for a trackable ultrasound
授权日:
2010-12-22
公开(公告)号:
EP1937153B1
申请日:
2006-06-21
公开(公告)日:
2010-12-22
当前申请(专利权)人:
THE GOVERNMENT OF THE UNITED STATES OF AMERICA, AS | PHILIPS ELECTRONICS LTD
发明人:
GLOSSOP, NEIL, DAVID | WOODS, BRADFORD, JOHNS
简单同族:
AT492214T | CA2612603A1 | CA2612603C | DE602006019117D1 | EP1937153A2 | EP1937153A4 | EP1937153B1 | US20070167787A1 | US9398892 | WO2008045016A2 | WO2008045016A3
简单同族成员数量:
11
简单同族被引用专利总数:
32
诉讼案件数:
0
法律状态/事件:
授权 | 权利转移