首页
专利数据库
产业人才
行业动态
产业政策法规
维权援助
个人中心
登录/注册
详情
文本
图像
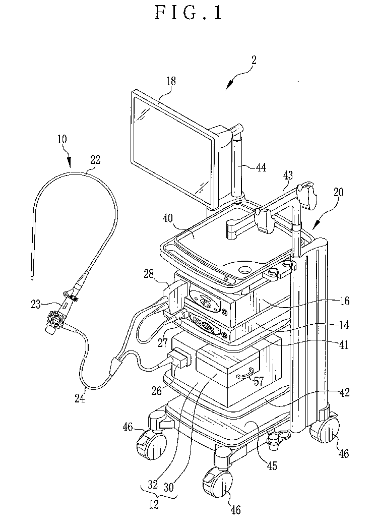
标题:
Adapter and ultrasonic diagnosis system
授权日:
1900-01-01
公开(公告)号:
EP2105094A8
申请日:
2009-03-27
公开(公告)日:
2009-12-16
当前申请(专利权)人:
FUJIFILM CORPORATION
发明人:
TANAKA, TOSHIZUMI | SATO, TOMOO | KARASAWA, HIROYUKI
简单同族:
EP2105094A2 | EP2105094A3 | EP2105094A8 | JP2009240437A | JP5198118B2 | US20090247877A1
简单同族成员数量:
6
简单同族被引用专利总数:
26
诉讼案件数:
0
法律状态/事件:
撤回