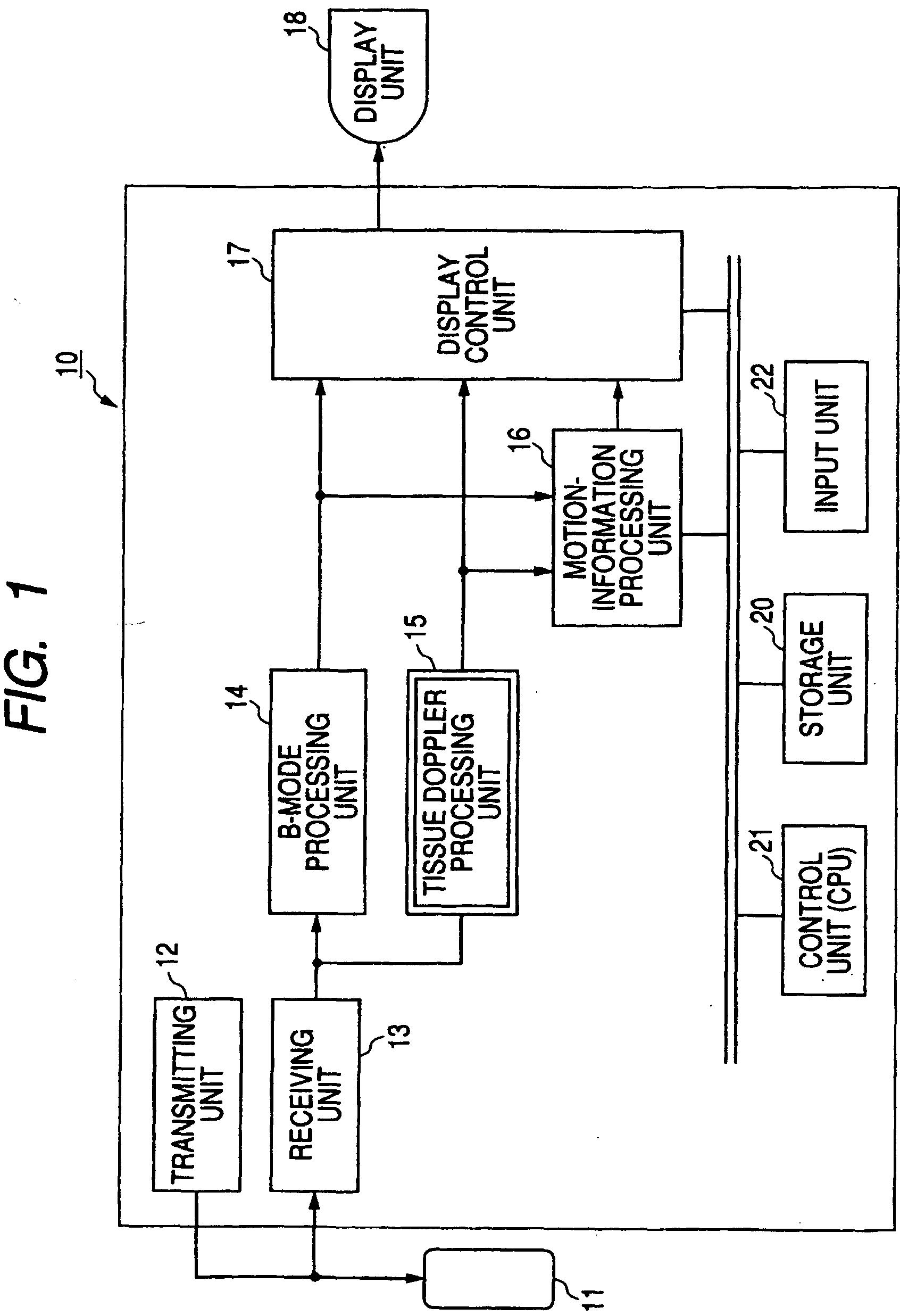
标题:
Ultrasonograph, ultrasonic image processing device, and ultrasonic image processing method
授权日:
1900-01-01
公开(公告)号:
EP1652477A4
申请日:
2005-05-31
公开(公告)日:
2007-08-08
当前申请(专利权)人:
KABUSHIKI KAISHA TOSHIBA | TOSHIBA MEDICAL SYSTEMS CORPORATION
发明人:
ABE, YASUHIKO C/O INTELL. PROP. DIV.
简单同族:
CN102488533A | CN1819798A | EP1652477A1 | EP1652477A4 | EP1652477B1 | JP2005342006A | US20060122512A1 | US9797997 | WO2005115249A1
简单同族成员数量:
9
简单同族被引用专利总数:
53
诉讼案件数:
0
法律状态/事件:
授权