首页
专利数据库
产业人才
行业动态
产业政策法规
维权援助
个人中心
登录/注册
详情
文本
图像
标题:
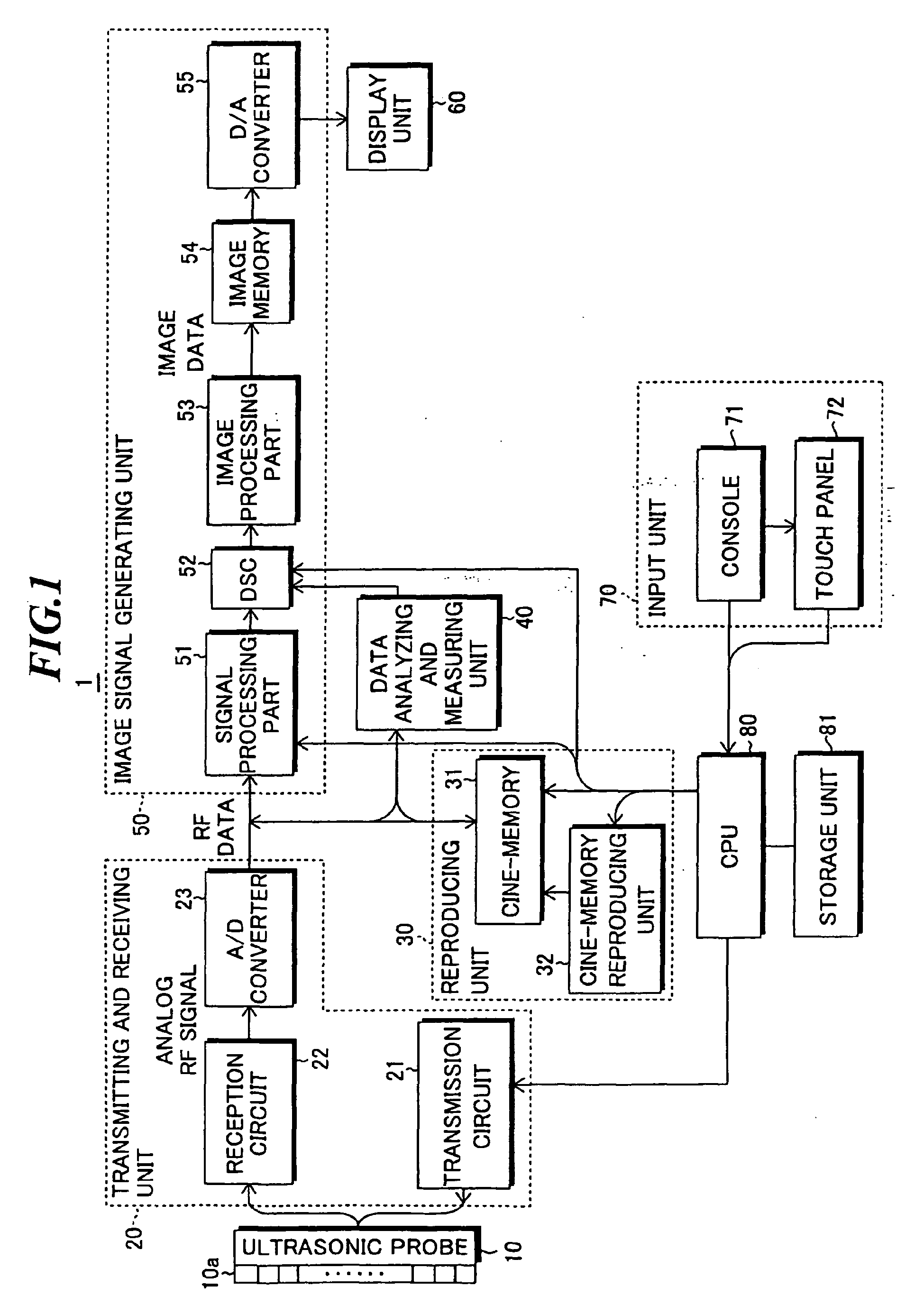
Ultrasonic diagnostic apparatus and data analysis and measurement apparatus
授权日:
2012-06-06
公开(公告)号:
EP1840594B1
申请日:
2007-03-15
公开(公告)日:
2012-06-06
当前申请(专利权)人:
FUJIFILM CORPORATION
发明人:
SATOH, YOSHIAKI
简单同族:
EP1840594A2 | EP1840594A3 | EP1840594B1 | JP2007260129A | JP4713382B2 | US20070232925A1
简单同族成员数量:
6
简单同族被引用专利总数:
53
诉讼案件数:
0
法律状态/事件:
权利终止