首页
专利数据库
产业人才
行业动态
产业政策法规
维权援助
个人中心
登录/注册
详情
文本
图像
标题:
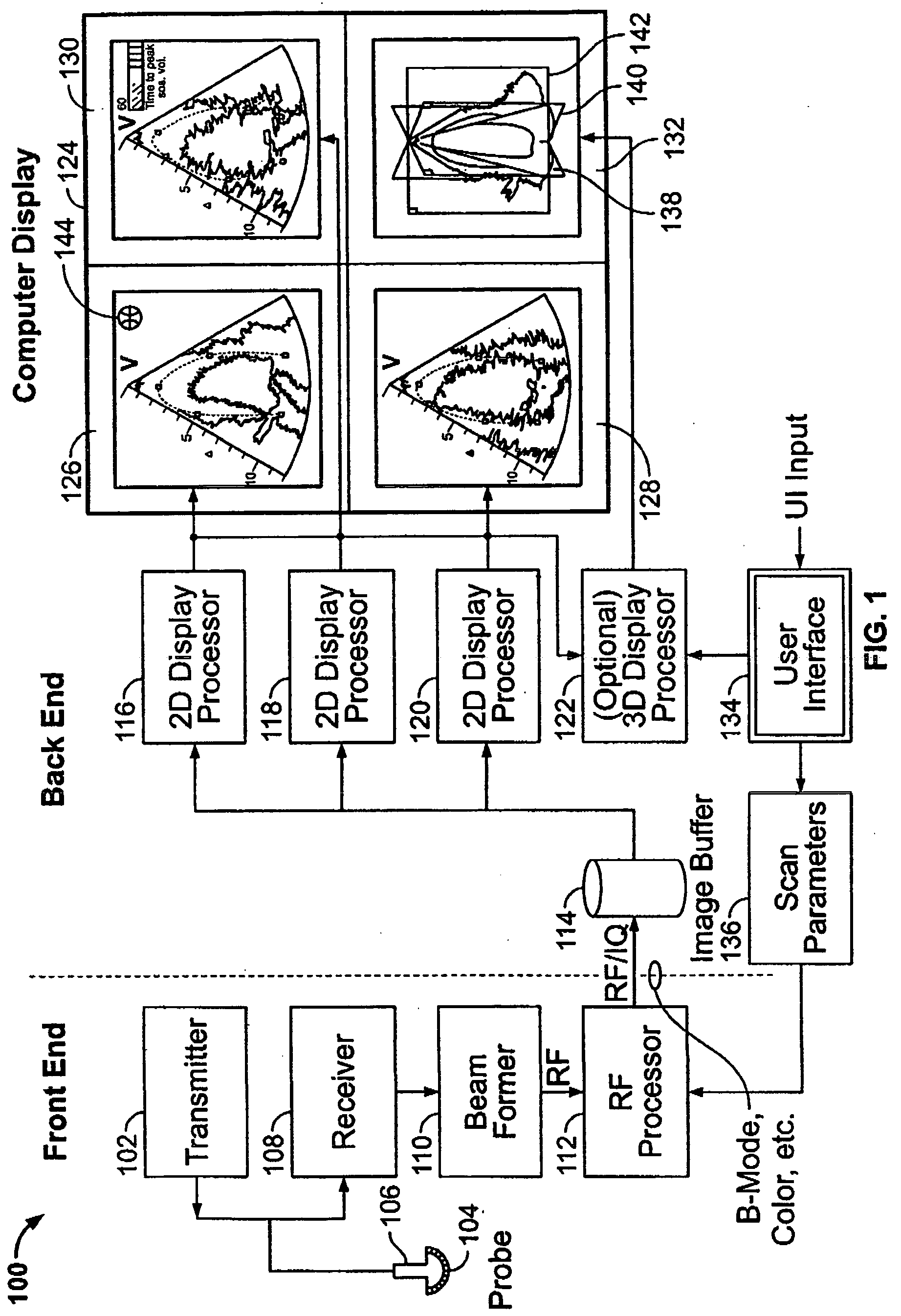
Apparatus for real time ultrasound multi-plane imaging
授权日:
2016-04-13
公开(公告)号:
EP1609422B1
申请日:
2005-06-22
公开(公告)日:
2016-04-13
当前申请(专利权)人:
GENERAL ELECTRIC COMPANY
发明人:
STEEN, ERIC NORMANN
简单同族:
EP1609422A1 | EP1609422B1 | JP2006006935A | JP5432426B2 | US20050283078A1 | US8012090
简单同族成员数量:
6
简单同族被引用专利总数:
44
诉讼案件数:
0
法律状态/事件:
授权 | 权利转移