标题:
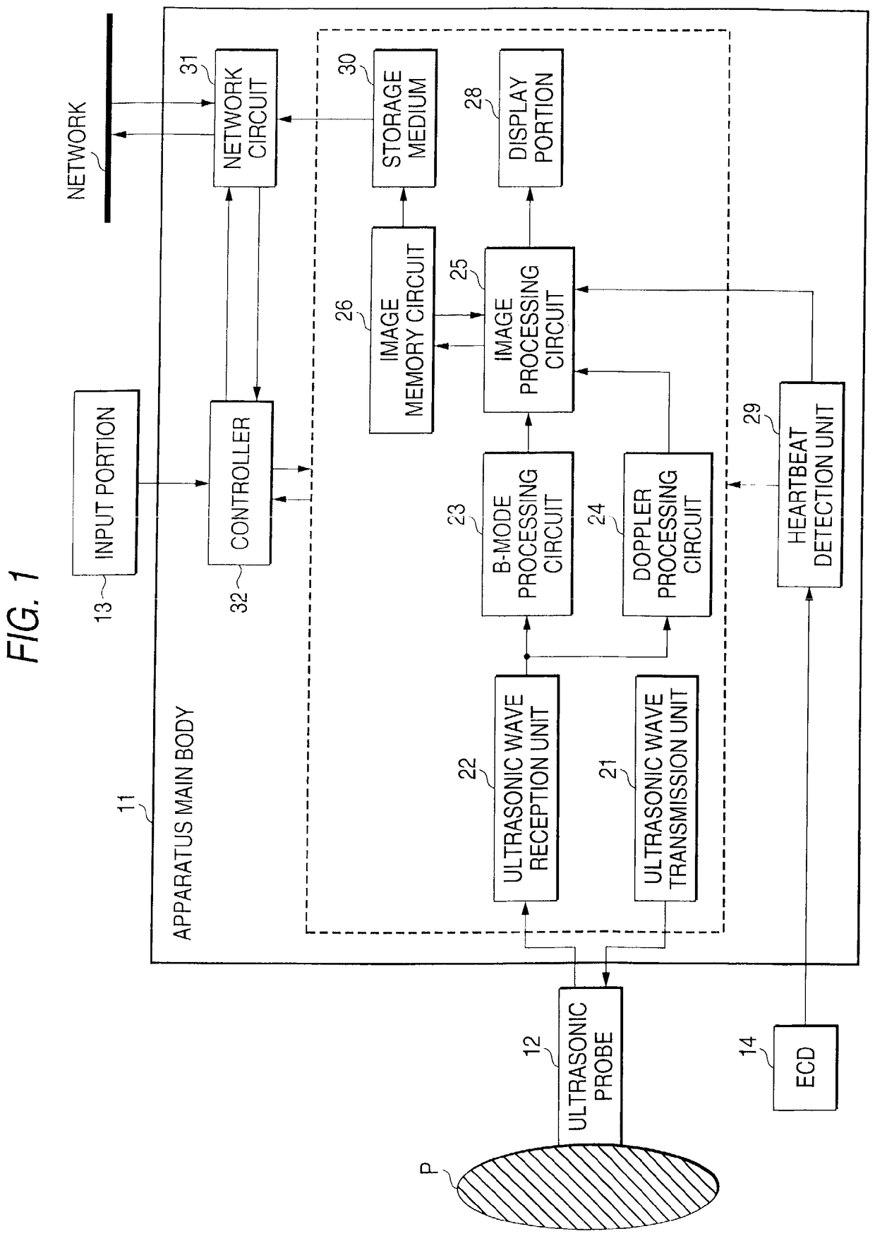
Ultrasonic diagnosis apparatus
授权日:
2018-09-19
公开(公告)号:
EP1354555B1
申请日:
2001-12-25
公开(公告)日:
2018-09-19
当前申请(专利权)人:
TOSHIBA MEDICAL SYSTEMS CORPORATION
发明人:
KAMIYAMA, NAOHISA
简单同族:
CN100366225C | CN1482884A | EP1354555A1 | EP1354555A4 | EP1354555B1 | JP2002191599A | JP4768914B2 | KR100790083B1 | KR1020030059333A | US20040010194A1 | US6991606 | WO2002051317A1
简单同族成员数量:
12
简单同族被引用专利总数:
37
诉讼案件数:
0
法律状态/事件:
授权 | 权利转移