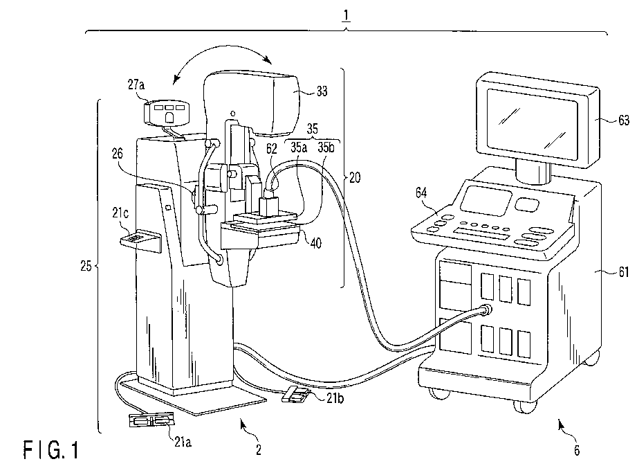
标题:
Ultrasonic diagnosis apparatus, breast imaging system, and breast imaging method
授权日:
1900-01-01
公开(公告)号:
EP1977692A3
申请日:
2008-03-31
公开(公告)日:
2008-12-10
当前申请(专利权)人:
TOSHIBA MEDICAL SYSTEMS CORPORATION
发明人:
OKAMURA, YOKO | KAMIYAMA, NAOHISA | SUGIYAMA, ATSUKO | YAMAGATA, HITOSHI | NISHIKI, MASAYUKI | KURATOMI, NAOKO | SEO, YASUTSUGU
简单同族:
CN101278863A | CN101278863B | EP1977692A2 | EP1977692A3 | JP2008272459A | JP5481038B2 | US20080249415A1
简单同族成员数量:
7
简单同族被引用专利总数:
32
诉讼案件数:
0
法律状态/事件:
撤回 | 权利转移