首页
专利数据库
产业人才
行业动态
产业政策法规
维权援助
个人中心
登录/注册
详情
文本
图像
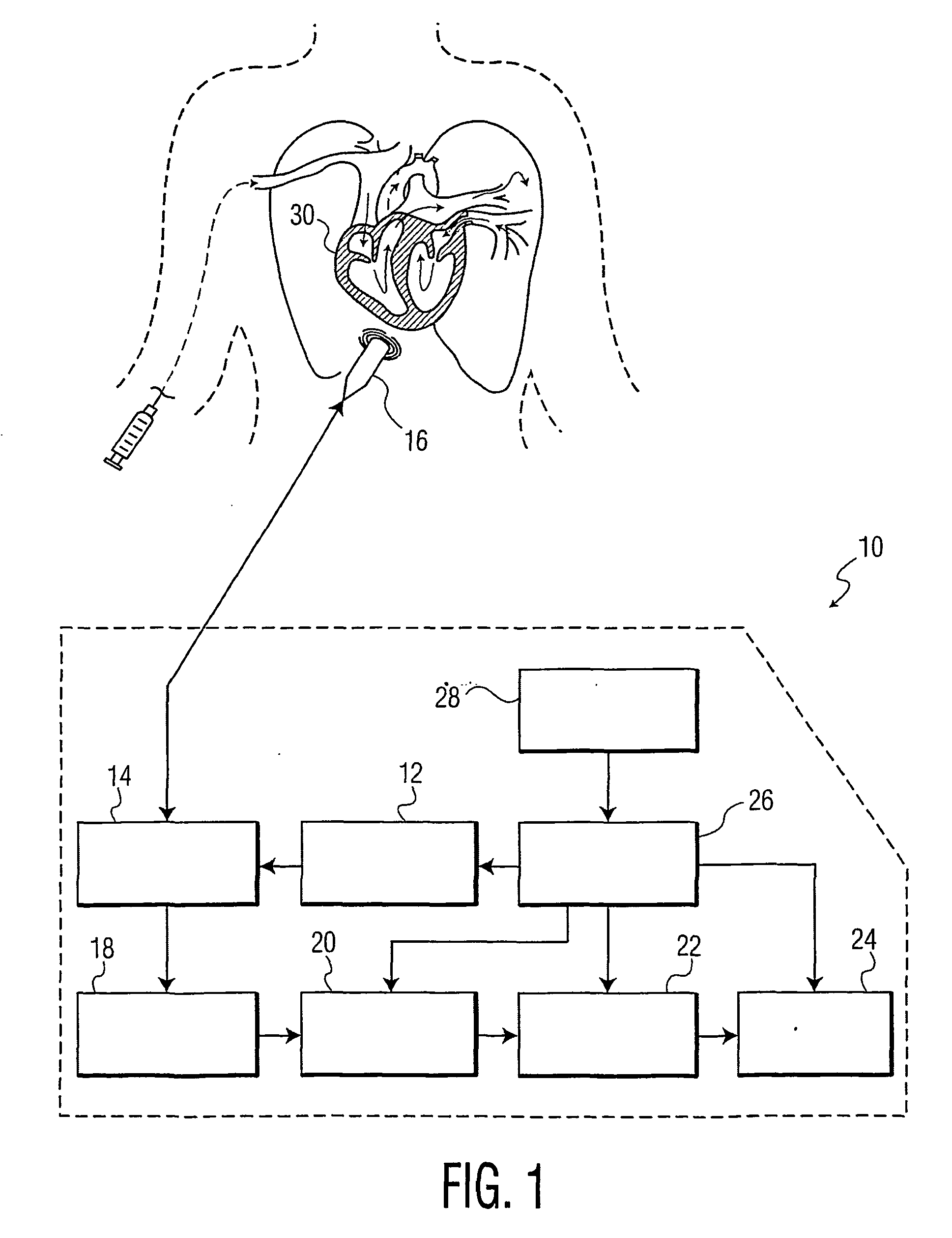
标题:
Ultrasound imaging apparatus
授权日:
2012-06-20
公开(公告)号:
EP1682004B1
申请日:
2004-10-14
公开(公告)日:
2012-06-20
当前申请(专利权)人:
KONINKLIJKE PHILIPS ELECTRONICS N.V.
发明人:
RAFTER, PATRICK
简单同族:
CN1870942A | EP1682004A1 | EP1682004B1 | JP2007508889A | US20070078344A1 | US7862511 | WO2005039418A1
简单同族成员数量:
7
简单同族被引用专利总数:
45
诉讼案件数:
0
法律状态/事件:
授权