首页
专利数据库
产业人才
行业动态
产业政策法规
维权援助
个人中心
登录/注册
详情
文本
图像
标题:
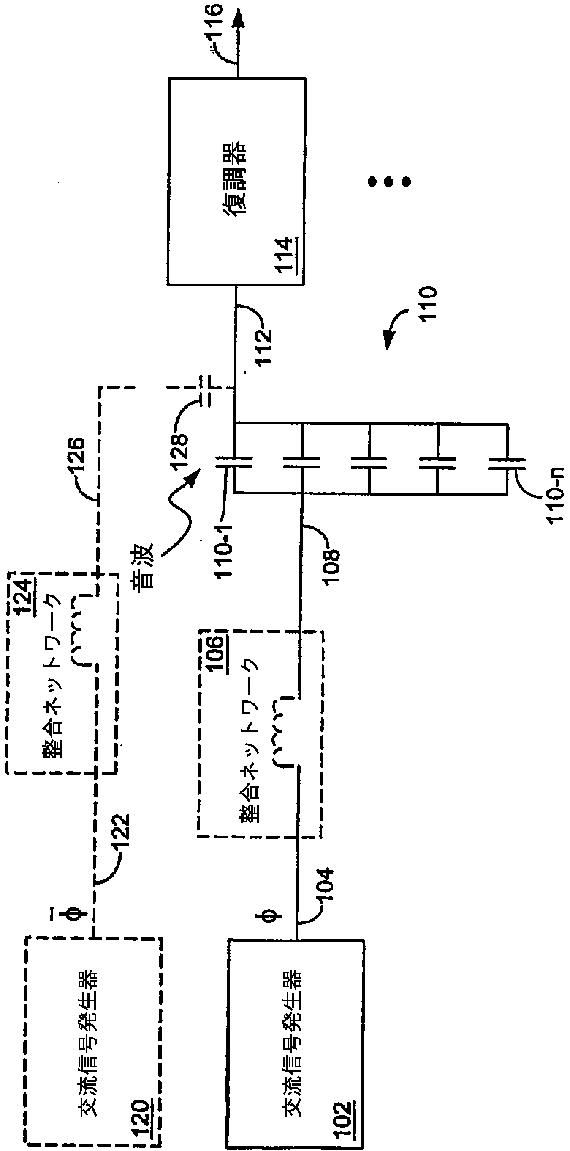
改善された感度をもつ超微細加工された超音波トランスデューサ(MUT)
授权日:
1900-01-01
公开(公告)号:
JP2005509466A
申请日:
2002-07-26
公开(公告)日:
2005-04-14
当前申请(专利权)人:
コーニンクレッカ フィリップス エレクトロニクス エヌ ヴィ
发明人:
ミッレル デヴィッド ジー
简单同族:
CN1293372C | CN1531645A | EP1440295A2 | JP2005509466A | JP4263092B2 | US20030028103A1 | US6592525 | WO2003011481A2 | WO2003011481A3
简单同族成员数量:
9
简单同族被引用专利总数:
45
诉讼案件数:
0
法律状态/事件:
未缴年费