首页
专利数据库
产业人才
行业动态
产业政策法规
维权援助
个人中心
登录/注册
详情
文本
图像
标题:
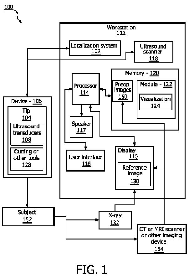
追跡可能な画像装置と画像ツールを用いる分岐の検出
授权日:
1900-01-01
公开(公告)号:
JP2014500043A
申请日:
2011-09-09
公开(公告)日:
2014-01-09
当前申请(专利权)人:
コーニンクレッカ フィリップス エヌ ヴェ
发明人:
デラディ シャボルクス | バルレイ マヤ エラ | ベッケル ニコラース ヘイルケ | バビック ドラチェンコ
简单同族:
CN103118601A | CN103118601B | EP2621343A1 | JP2014500043A | JP6324721B2 | US20130303888A1 | US9724071 | WO2012042413A1
简单同族成员数量:
8
简单同族被引用专利总数:
32
诉讼案件数:
0
法律状态/事件:
授权